EasyManua.ls Logo

Caen V2718 - Front Panel; Fig. 36: Mod. V2718 and Fig. 37: Prog_3 Switch Setting

Default Icon
79 pages
Print Icon
To Next Page IconTo Next Page
To Next Page IconTo Next Page
To Previous Page IconTo Previous Page
To Previous Page IconTo Previous Page
Loading...
Document type:
Title:
Revision date:
Revision:
User's Manual (MUT)
Mod. V2718 VME PCI Optical Link Bridge
03/07/2018
11
NPO:
Filename:
Number of pages:
Page:
00106/03:V2718.MUTx/11
V2718_REV11.DOC
79
36
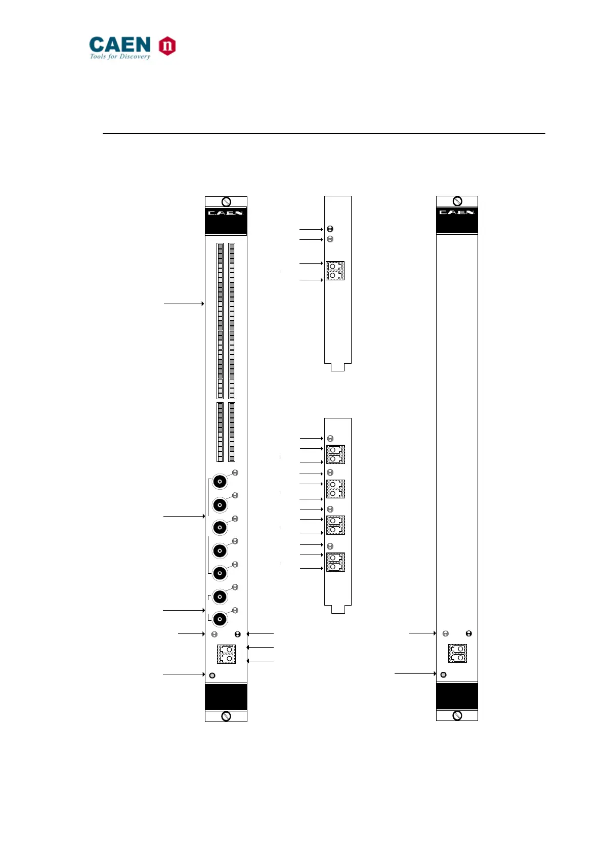
3.3. Front Panel
4 VMON
DATAWAY
DISPLAY
PROGRAMMABLE
OUTPUTS
PROGRAMMABL
E INPUTS
RX CONNECTOR
SYSRES
PUSHBUTTON
TX CONNECTOR
ACTIVE
TRANSFER LED
LINK CONNECTED LED
Link Connected
LED
Active transfer
LED
TX connector
RX connector
V2718 A2818
Mod. V2718
CONET VME
BRIDGE
0 DSn
SYSRES
I
N
LINK
D16
AM0
AM1
AM2
AM3
AM4
AM5
IRQ1
IRQ2
IRQ3
IRQ7
BRQ
IRQ4
IRQ5
IRQ6
DTK
BERR
BGR
SRES
LWRD
DS0
DS1
AS
IACK
WR
O
U
T
1 AS
2 DTK
3 BERR
0
1
A0
A1
A2
A3
A4
A5
A6
A7
A8
A9
A10
A11
A12
A13
A14
A15
A16
A17
A18
A19
A20
A21
A22
A23
A24
A25
A26
A27
A28
A29
A30
A31
D0
D1
D2
D3
D4
D5
D6
D7
D8
D9
D10
D11
D12
D13
D14
D15
D17
D18
D19
D20
D21
D22
D23
D24
D25
D26
D27
D28
D29
D30
D31
SYSRES
PUSHBUTTON
ACTIVE
TRANSFER LED
Mod.V2718LC
CONET VME
BRIDGE
SYSRES
LINK
V2718LC
A3818
Active transfer
LED
TX connector
RX connector
RX connector
Active transfer
LED
TX connector
Active transfer
LED
TX connector
RX connector
Active transfer
LED
TX connector
RX connector
Fig. 36: Mod. V2718 and A2818/A3818 front panels

Table of Contents