EasyManua.ls Logo

CERUS CI-007-P2 - PID Control with Pipe Broken Detection

Default Icon
137 pages
Print Icon
To Next Page IconTo Next Page
To Next Page IconTo Next Page
To Previous Page IconTo Previous Page
To Previous Page IconTo Previous Page
Loading...
Chapter 6 - Parameter Description
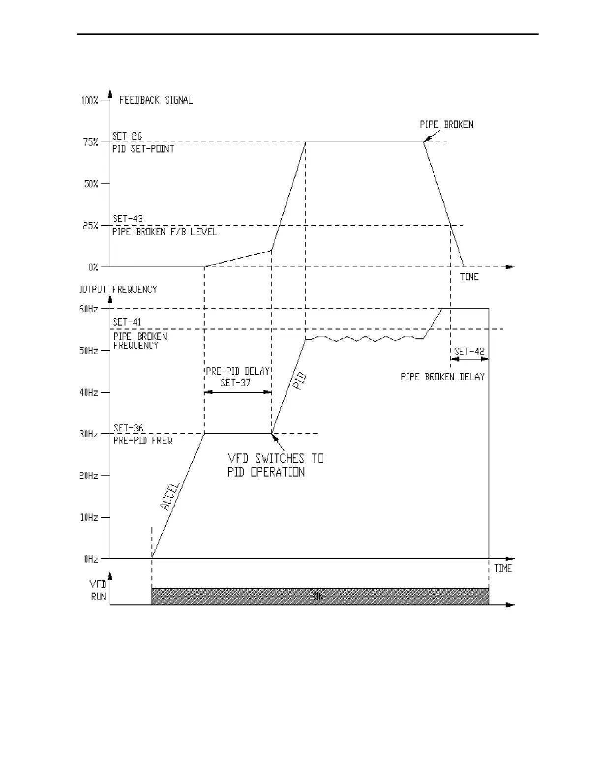
7.4 PID control with Pipe Broken function diagram.

Table of Contents

Related product manuals