EasyManua.ls Logo

Coastcom D/I Mux III System - Channel Bank: Payload Loopback

Coastcom D/I Mux III System
329 pages
Print Icon
To Next Page IconTo Next Page
To Next Page IconTo Next Page
To Previous Page IconTo Previous Page
To Previous Page IconTo Previous Page
Loading...
Chapter 5. Diagnostics
182
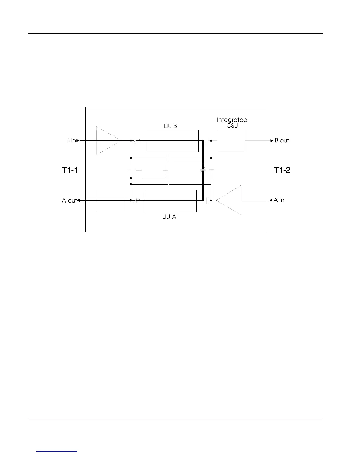
Channel Bank: Payload Loopback
Payload loopback is initiated from the D/I Mux III software interface. In payload loopback, the
LIUs are included in the data path.
Incoming PCM from span B is sent to the input of LIU B, then from the output of LIU B to the input
of LIU A, and finally from the output of LIU A to the output of span A, as depicted in Figure 5-10.
PCM from the output of LIU B is blocked.
Figure 5-10. Channel Bank: Payload Loopback

Table of Contents