EasyManua.ls Logo

Dell PowerEdge C6320 - Page 149

Dell PowerEdge C6320
183 pages
Print Icon
To Next Page IconTo Next Page
To Next Page IconTo Next Page
To Previous Page IconTo Previous Page
To Previous Page IconTo Previous Page
Loading...
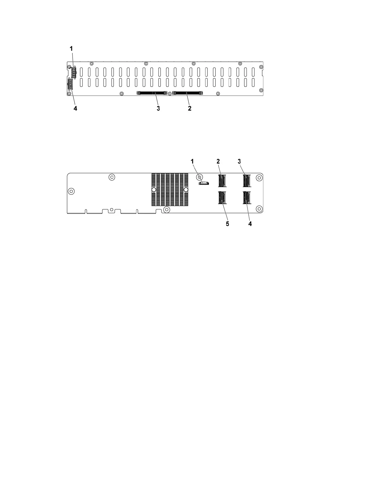
Figure 95. Back view of the 2.5-inch hard drive backplane for expander configuration
1. backplane power connector for power
supply 1
2. Expander-card connector 1
3. Expander-card connector 2 4. backplane power connector for power
supply 2
Figure 96. Top view of the expander card
1. power control connector 2. mini-SAS connector (4-7)
3. mini-SAS connector (12-15) 4. mini-SAS connector (8-11)
5. mini-SAS connector (0-3)
2. Disconnect control panel cables from the power distribution board.
3. Remove the screws that secure the hard drive cage to the chassis.
149

Table of Contents

Other manuals for Dell PowerEdge C6320

Related product manuals