EasyManua.ls Logo

Delta Electronics ASDA-B2 series - Structure of Speed Control Mode

Delta Electronics ASDA-B2 series
335 pages
Print Icon
To Next Page IconTo Next Page
To Next Page IconTo Next Page
To Previous Page IconTo Previous Page
To Previous Page IconTo Previous Page
Loading...
Chapter 6 Control Modes of Operation ASDA-B2
6-14 Revision September 2013
6.3.2 Structure of Speed Control Mode
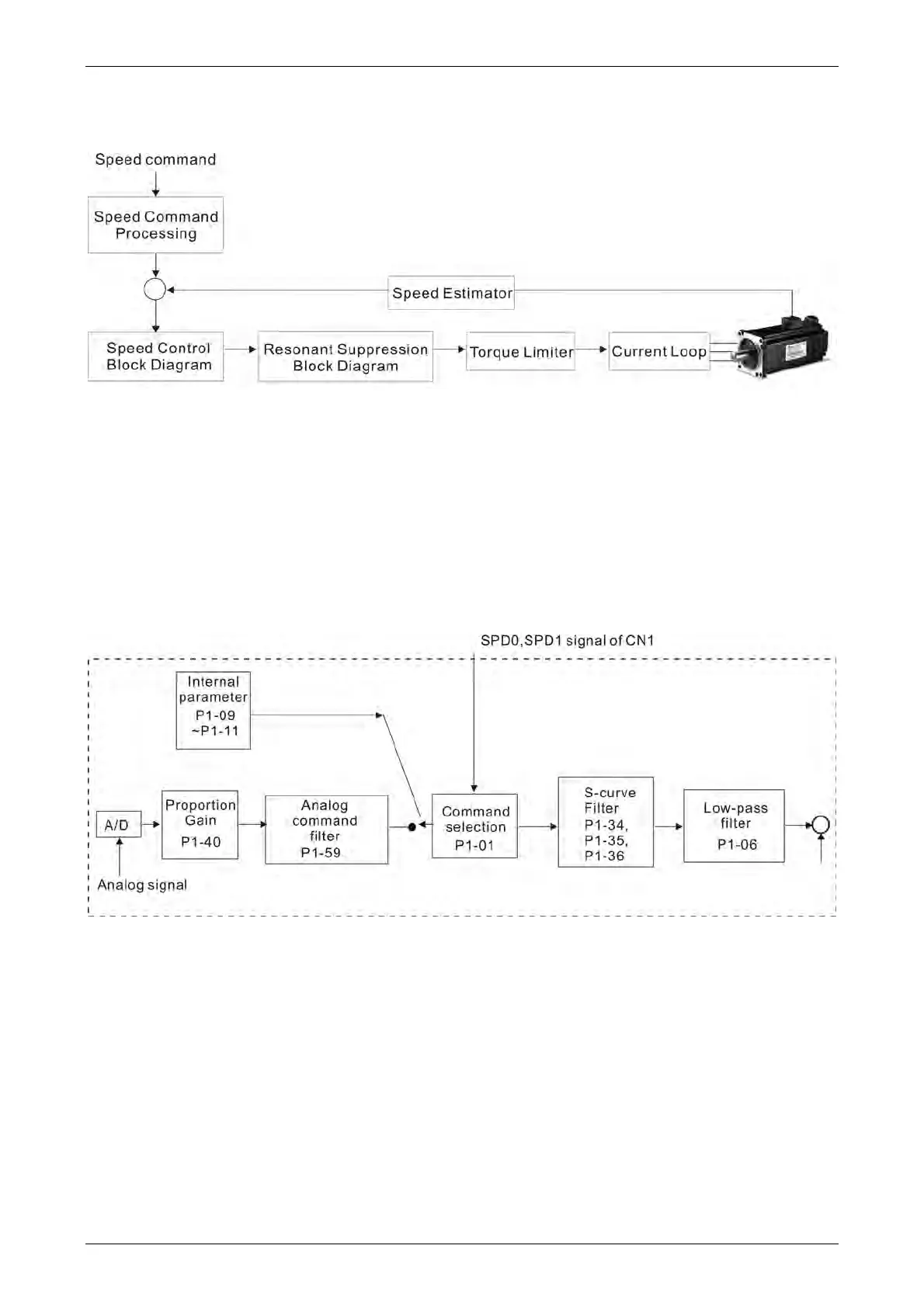
Basic Structure:
In the figure above, the speed command processing is used to select the command
source of speed control according to chapter 6.3.1, including proportional gain (P1-40)
and S-curve filter smoothing strategy of speed control. The speed control block
diagram is used to manage the gain parameters of the servo drive and calculate the
current input provided to motor instantaneously. The resonance suppression block
diagram is used to suppress the resonance of mechanical system.
The function and structure of speed command processing is shown as the figure below:
The command source is selected according to the state of SPD0, SPD1 and
parameter P1-01 (S or Sz). Whenever the command signal needs to be more smoothly,
we recommend the users to use S-curve and low-pass filter.
VARITEL INGENIERIA ELECTRONICA S.A.
info@varitel.com - www.varitel.com - Tel. (54) 11-4243-1171 / Fax: (54) 11-4292-7545
Manuel Baliña 456, Lomas de Zamora (B1832CCJ) Buenos Aires, Argentina.

Table of Contents

Related product manuals