EasyManua.ls Logo

Epson DS Series - Page 30

Epson DS Series
199 pages
To Next Page IconTo Next Page
To Next Page IconTo Next Page
To Previous Page IconTo Previous Page
To Previous Page IconTo Previous Page
Loading...
30
* IC card reader is available only for authentication scanning using Document Capture Pro Server
edition.
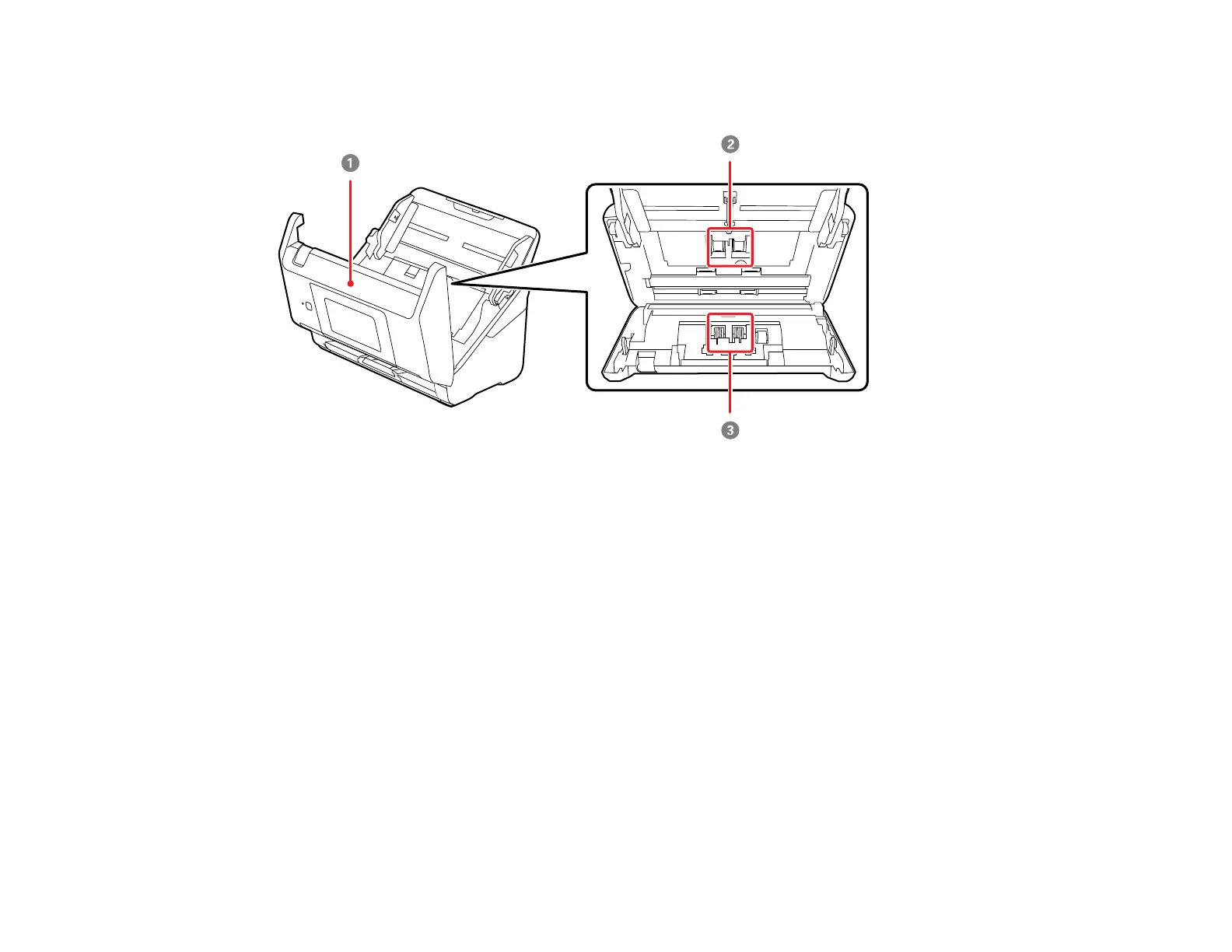
1 Scanner cover
2 Pickup rollers

Table of Contents

Related product manuals