EasyManua.ls Logo

Epson PowerLite 5000 - Page 127

Epson PowerLite 5000
127 pages
Print Icon
To Previous Page IconTo Previous Page
To Previous Page IconTo Previous Page
Loading...
EPSON PowerLite 5000 Service Manual
A-19
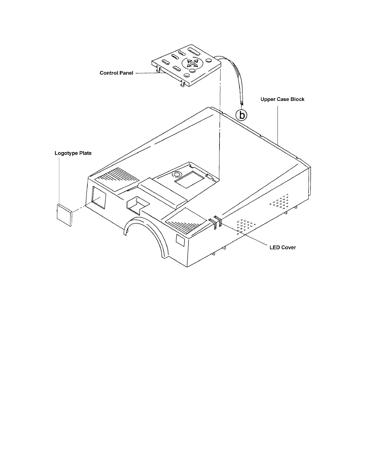
Figure A-16

Table of Contents

Other manuals for Epson PowerLite 5000

Related product manuals