EasyManua.ls Logo

Holip hlp-c+ - Ⅵ. Instruction of the Digital Operator; Description of the Digital Operator; Display Description of Indication Status

Holip hlp-c+
103 pages
Print Icon
To Next Page IconTo Next Page
To Next Page IconTo Next Page
To Previous Page IconTo Previous Page
To Previous Page IconTo Previous Page
Loading...
- 18 -
HLP-C
+
Inverters
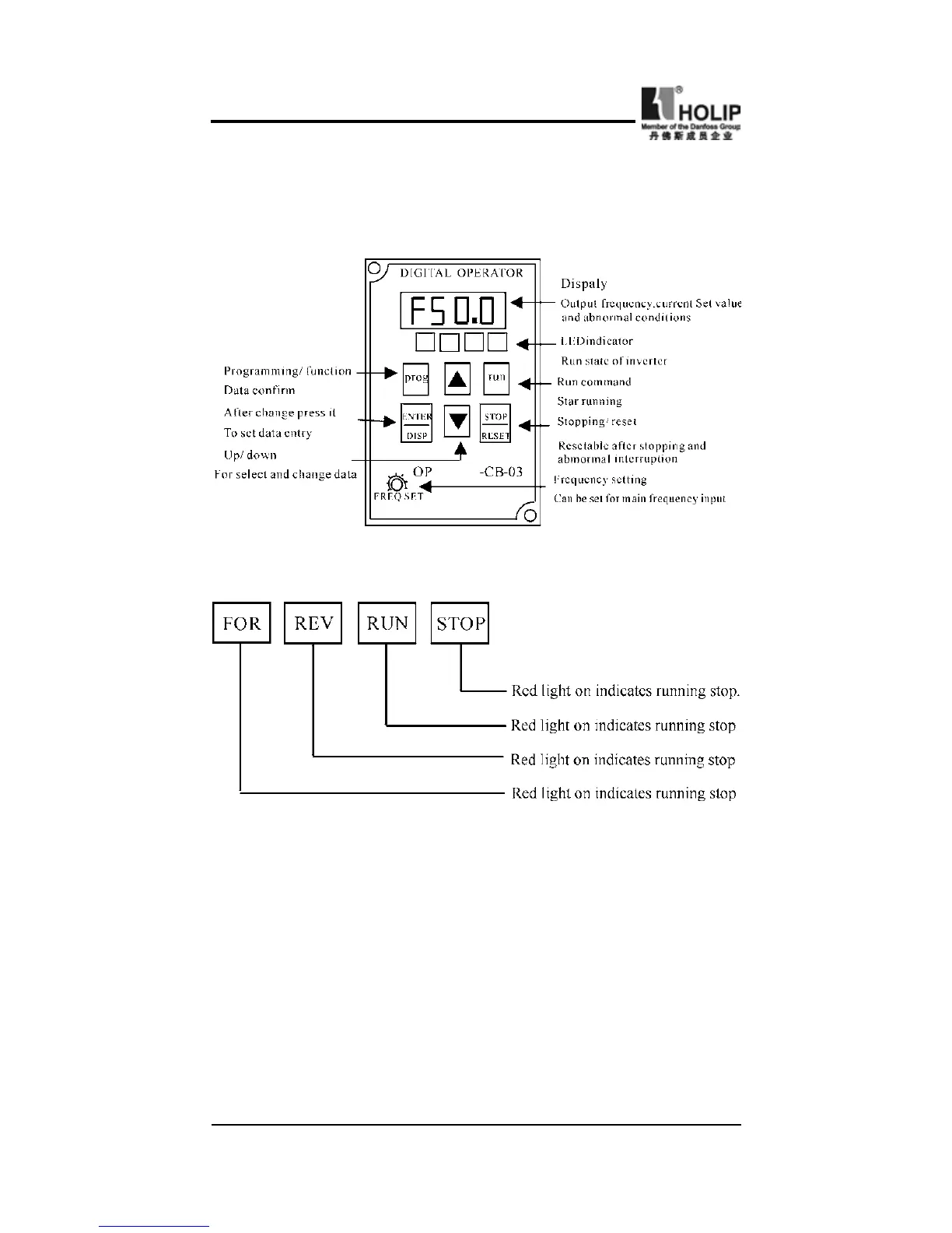
VI. Description of Digital Operator
⑴ Description of Digital Operator
⑵ Display Status
1
.During stopping: STOP on.
2.
During operation
a: In case of output, RUN on, STOP dark; in case of forward
rotating, FWD on, in case of reverse rotatying, REV on.
b
Run→Stop, then RUN on, STOP ashing→RUN dark, STOP
on.
c
ForwardReverse, then FWD on, REV f lashingFWD
ashing, REV on.
d
When the inverter is operated in 0.00HZ, RUN ashing and
STOP off.
e
In jogging, RUN on, STOP ashing.

Table of Contents

Related product manuals