EasyManua.ls Logo

Holip hlp-c+ - PID Control Block Diagram; General Operating Methods of PID Control

Holip hlp-c+
103 pages
Print Icon
To Next Page IconTo Next Page
To Next Page IconTo Next Page
To Previous Page IconTo Previous Page
To Previous Page IconTo Previous Page
Loading...
- 69 -
HLP-C
+
Inverters
from temperature, or pressure transmitter, etc. When under
PID control, the feedback signal input path is the analog current
signal 4-20mA.
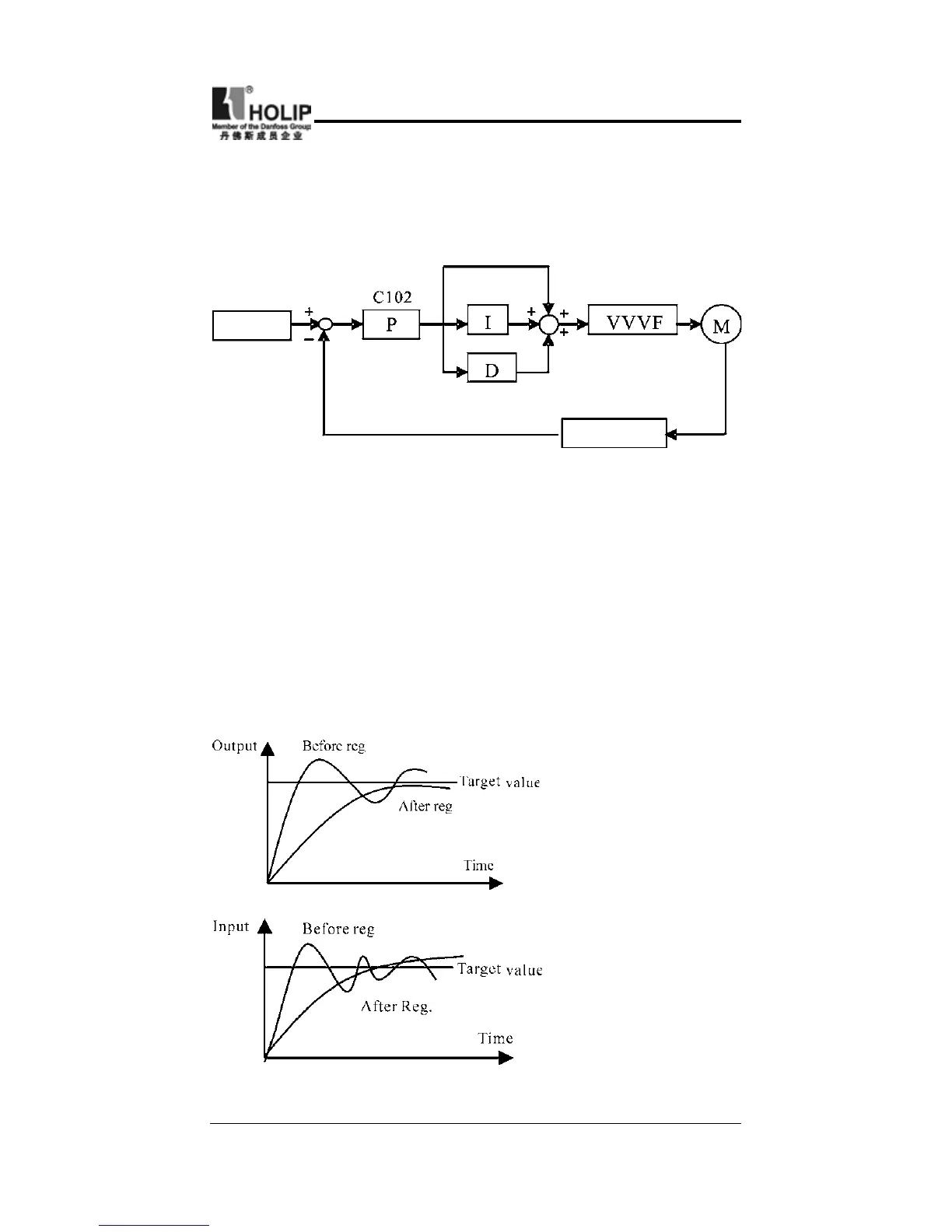
PID Control Block Diagram:
Target value
Feedback
Transmitter
General operating methods of PID control:
Choose the correct transmitter (with the output specication
of standard current signal 4-20mA)
Set the right target value.
If t he out put doe snt have oscil lat ion, i nc rease t he
proportional constant (P);
If the output doesn’t have oscillation, decrease the integral
time (Ti);
If the output doesn’t have oscillation, increase the differential
time (Td).
1
.
Decrease the Over
Output
a
Decrease the
differential time (D)
b
Increase the
integral time (I)
2
.
Decrease the
oscillation
a
Decrease the
differential time (D)
b
Extend the integral
timke
P

Table of Contents

Related product manuals