EasyManua.ls Logo

Intergraph StudioZ RAX - Page 33

Default Icon
132 pages
Print Icon
To Next Page IconTo Next Page
To Next Page IconTo Next Page
To Previous Page IconTo Previous Page
To Previous Page IconTo Previous Page
Loading...
23
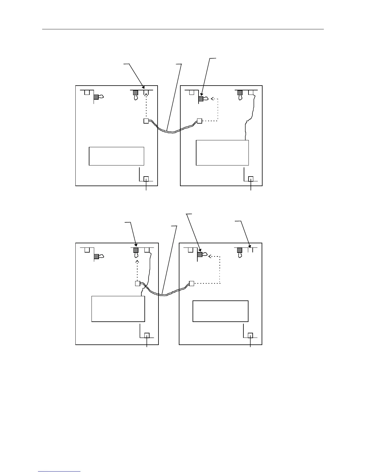
System Rack on the Right:
Attach cable to
open socket
Front of Racks
Link
Cable
Remove
loopback
connector
Expansion Rack
Base Unit
System Rack
System Rack on the Left:
Move loopback connector
to open socket
Front of Racks
Link
Cable
Remove
this jumper
Expansion Rack
Base Unit
System Rack

Table of Contents