EasyManua.ls Logo

Koden CVS-852 - Details of Output Data Sentences; Output Signal Specification; Serial Output Data

Koden CVS-852
123 pages
Print Icon
To Next Page IconTo Next Page
To Next Page IconTo Next Page
To Previous Page IconTo Previous Page
To Previous Page IconTo Previous Page
Loading...
Chapter 10 CVS-842/852/843
Technical References Operation Manual
Name &
Version
Data name
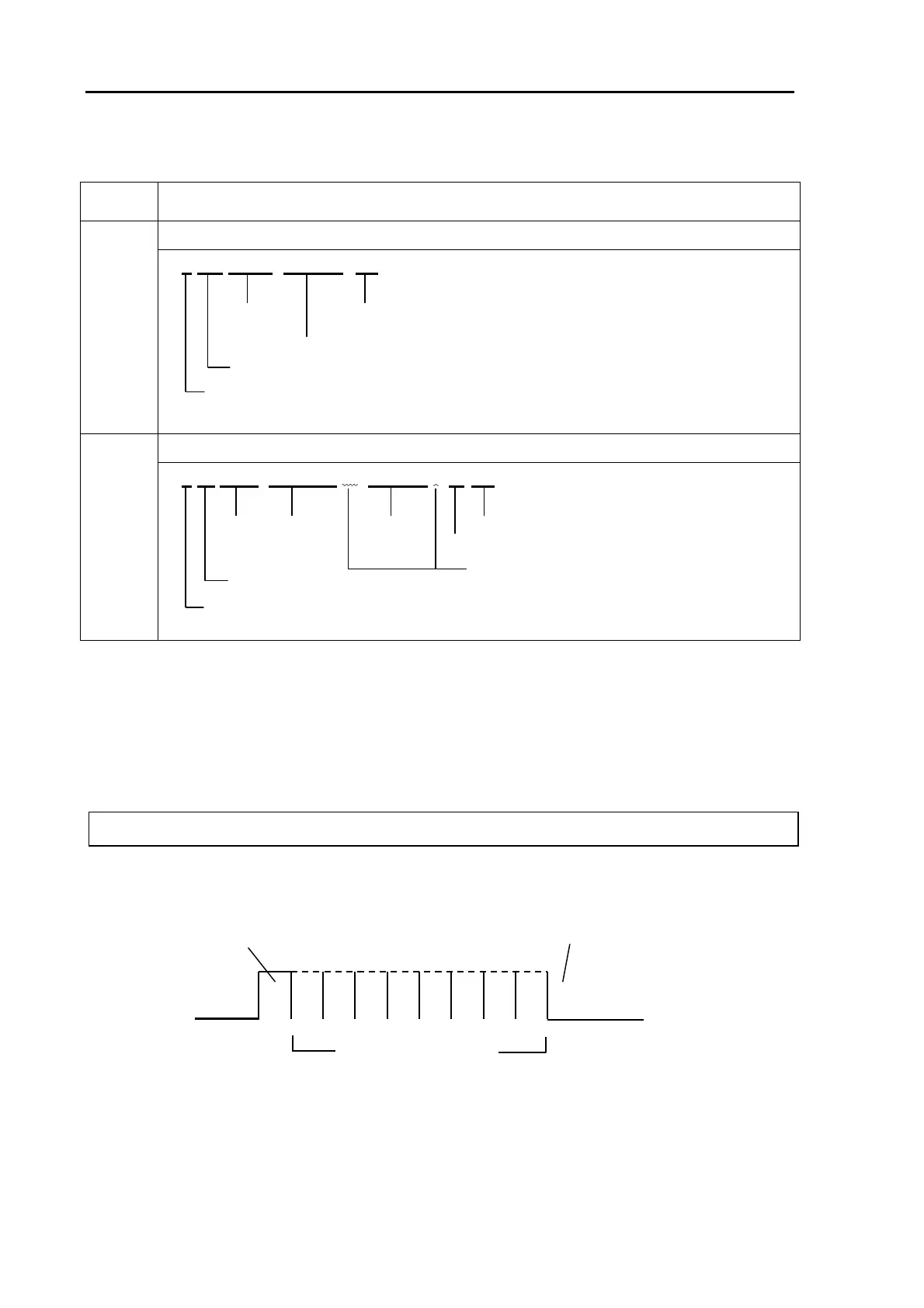
MTW Water temperature
Ver.1.5
$ SD MTW, xx.x, C *hh <CR><LF>
Sentence
Checksum
name
Temperature(
o
C)
Talker device code
Start of sentence
VTG Course and water speed
Ver.1.5
$ - - VTG, xxx.x, T, , , xx.x, N, , a *hh <CR><LF>
Sentence
Ship’s bearing Ground speed Checksum
Name
(True) (KNT)
Mode identifier
These fields are not used
Talker device code
Start of sentence
10.3 Serial output data
Data format:
NMEA 0183 Ver. 1.5 and 2.0
10.3.1 Details of output data sentences
NOTE: Checksum is a total sum of EX-ORed data that are put between the $ and asterisk (*) signs.
Data structure
D0 D1 D2 D3 D4 D5 D6 D7
Data Bit (ASCII Code)
Stop Bit(1 Bit or more)
Start Bit
Logic 0: >+4V
Logic 1: +0.5V
NOTE: A parity bit is not provided.
10-2 93132672-00

Table of Contents

Related product manuals