EasyManua.ls Logo

Koden CVS-852 - Appendix 2 Transducer Installation; Recommended Transducer Installation

Koden CVS-852
123 pages
Print Icon
To Next Page IconTo Next Page
To Next Page IconTo Next Page
To Previous Page IconTo Previous Page
To Previous Page IconTo Previous Page
Loading...
CVS-842/852/843 Chapter 4
Operation Manual Installation
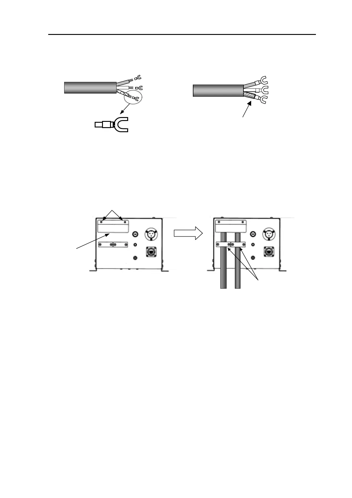
4.8.5 Connecting TD cable to TX/RX unit
(1) Attach a crimp terminal (V2-4-1), supplied as installation materials, to each lead.
Fit an insulating tube onto the
earth shield.
Figure 4.14 Dressing the TD cable
(2) Remove the TD cable cover and cable clamp and fit the TD cable as shown.
(3) Refit the cable cover and cable clamps after the connections.
Fixing screws
Cable clamp
Cable Cover
Figure 4.15 Connecting the TD to TX/RX unit
93132692-00 4-11

Table of Contents

Related product manuals