EasyManua.ls Logo

Lenovo ThinkCentre E63z - Replacing the Converter Board

Lenovo ThinkCentre E63z
162 pages
Print Icon
To Next Page IconTo Next Page
To Next Page IconTo Next Page
To Previous Page IconTo Previous Page
To Previous Page IconTo Previous Page
Loading...
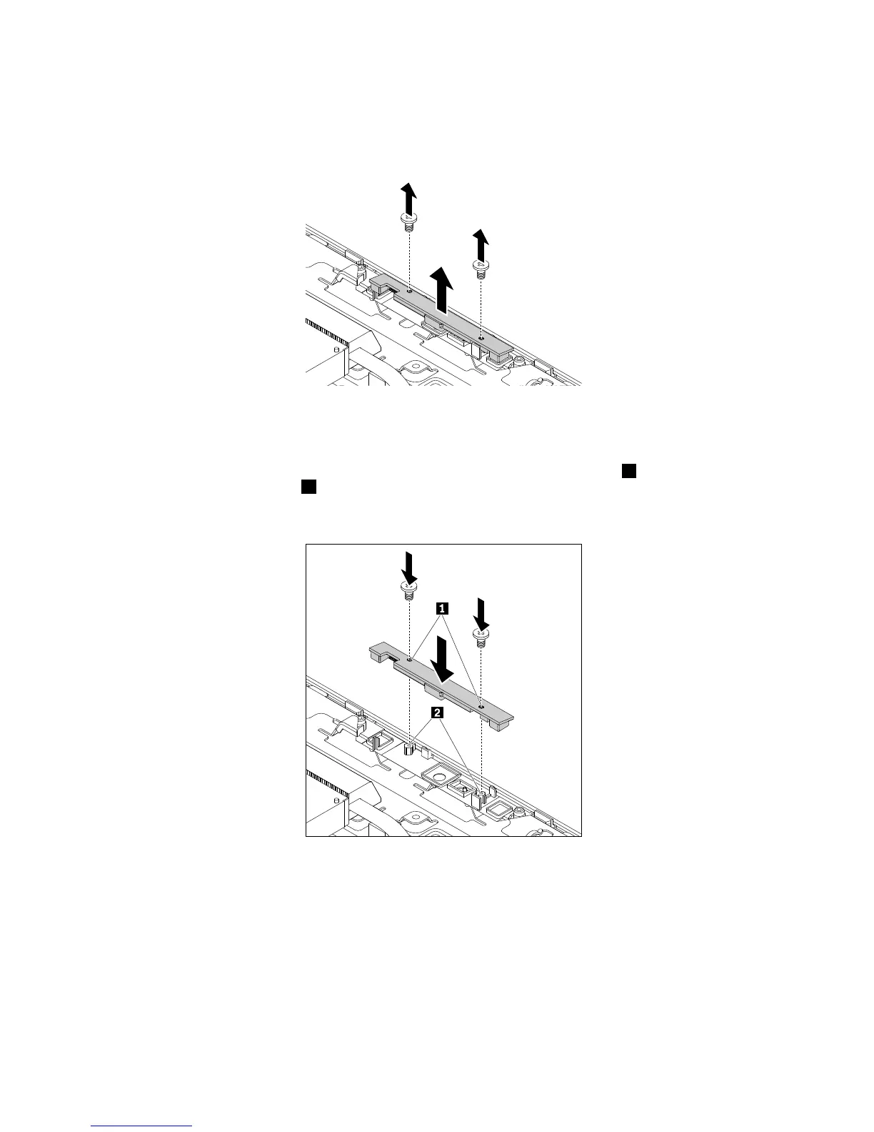
6.Removethetwoscrewsthatsecuretheintegratedcamera.Then,lifttheintegratedcameratoremove
thecamerafromthefrontbezel.
Figure20.Removingtheintegratedcamera
7.Toinstallthenewintegratedcamera,connecttheintegrated-cameracabletothenewintegratedcamera.
8.PositiontheintegratedcameraovertheLCDfrontbezelsothatthescrewholes1inthecameraalign
withthecorrespondingholes2inthefrontbezel.Then,installthetwoscrewstosecuretheintegrated
cameratothefrontbezel.
Figure21.Installingtheintegratedcamera
Whattodonext:
Toworkwithanotherpieceofhardware,gototheappropriatesection.
Tocompletetheinstallationorreplacement,goto“Completingthepartsreplacement”onpage127.
Replacingtheconverterboard
Attention:DonotopenyourcomputerorattemptanyrepairbeforereadingandunderstandingtheChapter
1“Readthisfirst:Importantsafetyinformation”onpage1.
108ThinkCentreE63zUserGuide

Table of Contents

Other manuals for Lenovo ThinkCentre E63z

Related product manuals