EasyManua.ls Logo

MADVAC PS300 - Page 104

MADVAC PS300
182 pages
Print Icon
To Next Page IconTo Next Page
To Next Page IconTo Next Page
To Previous Page IconTo Previous Page
To Previous Page IconTo Previous Page
Loading...
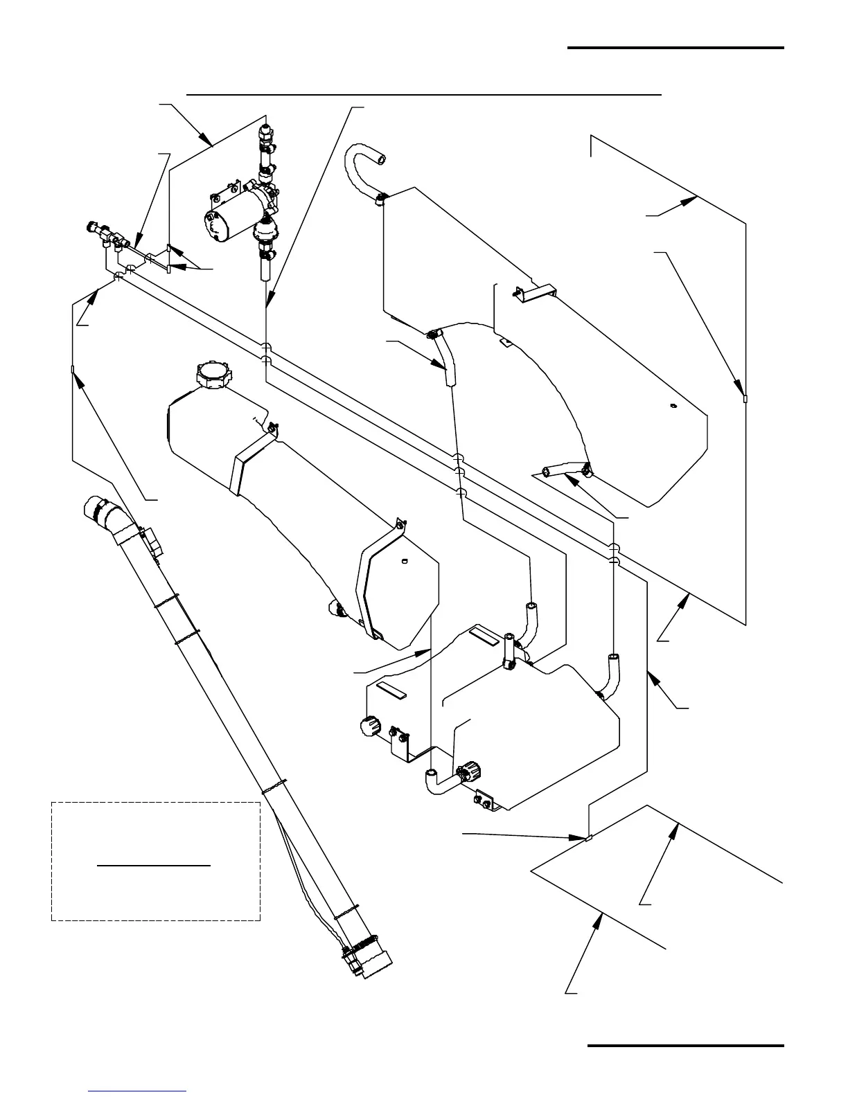
66419
WATER HOSE O.D. 1/4"
FROM WATER "T" FITTING
TO BRUSH WATER SPRAY LEFT.
66418
WATER HOSE O.D. 1/4"
FROM WATER "T" FITTING
TO BRUSH WATER SPRAY RIGHT.
66150
WATER "T" FITTING
66417
WATER HOSE O.D. 1/4"
FROM WATER "T" FITTING
TO FLOW VALVE
66406
WATER HOSE I.D. 3/4"
FROM WATER TANK RIGHT
TO LOWER WATER TANK.
67226
WATER HOSE O.D. 1/4"
FROM WATER "T" FITTING
TO WATER FITTING STRAIGHT.
66422
WATER FITTING
STRAIGHT
66150
WATER
"T"
FITTING
66413
WATER HOSE O.D. 1/4"
FROM WATER PUMP
TO WATER "T" FITTING.
66416
WATER HOSE O.D. 1/4"
FROM WATER FITTING STRAIGHT
TO CONTAINER COVER WATER SPRAY.
66422
WATER FITTING STRAIGHT.
66415
WATER HOSE O.D. 1/4"
FROM FLOW VALVE
TO WATER FITTING STRAIGHT.
66408
WATER HOSE I.D. 3/4"
FROM WATER TANK LEFT
TO LOWER WATER TANK.
66407
WATER HOSE I.D. 3/4"
FROM WATER TANK LEFT
TO LOWER WATER TANK.
66500
WATER HOSE I.D. 3/8"
FROM LOWER WATER TANK
TO WATER PUMP.
66414
WATER HOSE O.D. 1/4"
FROM WATER "T" FITTING
TO WATER FLOW VALVE
67225
D.E.A. WATER SPRAY SYSTEM
INSTALLATION KIT.
INCLUDING ITEMS #
67226 - WATER HOSE O.D. 1/4"
66150 - WATER "T" FITTING
66422 - WATER STRAIGHT FITTING
A67621 - WATER SYSTEM HOSES ROUTING
WATER HOSES ROUTINGS AND UNION " T " FITTINGS FOR ALL SERIAL NUMBERS
MadVac Inc.
PS 300 Operator's & Parts Manual
September 2001, Revision: ---
WA-1
Water System Section

Table of Contents

Other manuals for MADVAC PS300