EasyManua.ls Logo

Omron CP - PROGRAMMING MANUAL 05-2007 - Page 221

Omron CP - PROGRAMMING MANUAL 05-2007
1175 pages
Print Icon
To Next Page IconTo Next Page
To Next Page IconTo Next Page
To Previous Page IconTo Previous Page
To Previous Page IconTo Previous Page
Loading...
188
Timer and Counter Instructions Section 3-5
Binary
Variations
Applicable Program Areas
Operands D1: Completion Flags
D1 contains the eight Completion Flags as well as the pause and reset bits.
D2: PV Word
D2 contains the 4-digit binary or BCD PV.
S: First SV Word
S through S+7 contain the eight independent SVs.
Each SV must be as follows:
MTIMX(554)
D1
D2
S
D1: Completion Flags
D2: PV word
S: First SV word
Variations Executed Each Cycle for ON Condition MTIM(543)/
MTIMX(554)
Executed Once for Upward Differentiation Not supported.
Executed Once for Downward Differentiation Not supported.
Immediate Refreshing Specification Not supported.
Block program areas Step program areas Subroutines Interrupt tasks
Not allowed OK OK Not allowed
Data Range
BCD #0000 to #9999
Binary &0 to &65535 (decimal)
#0000 to #FFFF (hex)
Data Range
BCD #0000 to #9999
Binary &0 to &65535 (decimal)
#0000 to #FFFF (hex)
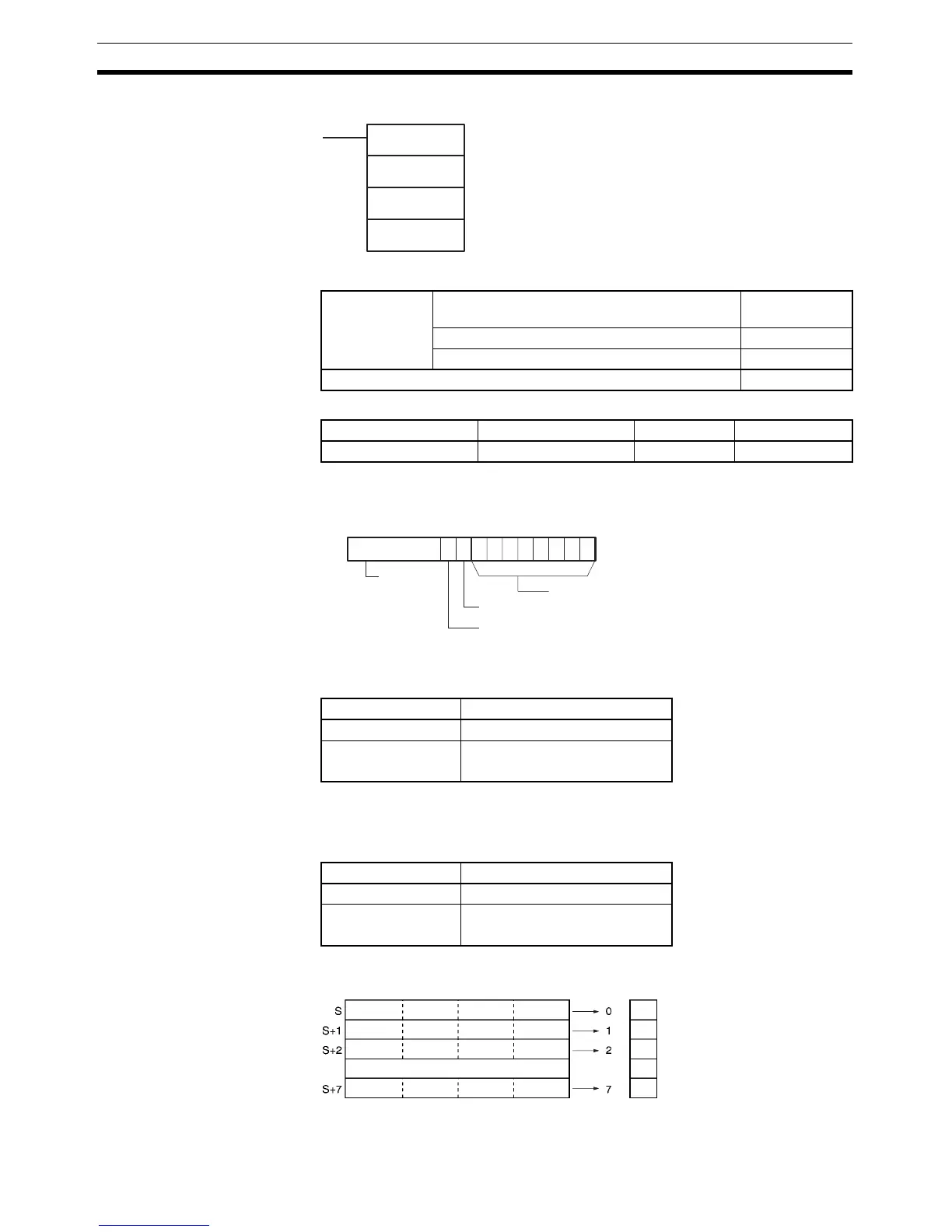
15 1
D1
9 8 6 4275 30
Completion Flags
Reset bit
Do not use.
Pause bit
Corresponding bit
(Completion Flag) in D1

Table of Contents

Related product manuals