EasyManua.ls Logo

Omron CP - PROGRAMMING MANUAL 05-2007 - Page 562

Omron CP - PROGRAMMING MANUAL 05-2007
1175 pages
Print Icon
To Next Page IconTo Next Page
To Next Page IconTo Next Page
To Previous Page IconTo Previous Page
To Previous Page IconTo Previous Page
Loading...
529
Double-precision Floating-point Instructions Section 3-15
Comparing Single-
precision and Double-
precision
Calculations
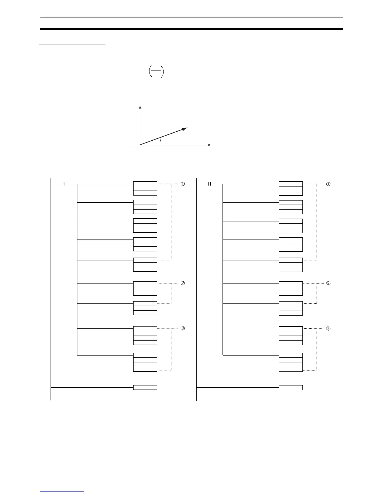
This example shows the differences in between single-precision and double-
precision calculations when the following vector expressed in polar coordi-
nates is converted to rectangular coordinates A (x,y).
In this example, the 4-digit BCD angle (
θ, in degrees) is read from D0 and the
4-digit BCD distance (r) is read from D1000.
r = re
j
θ
360
π
Y
0
r
θ
X
r
A (x, y) = A (rcos θ,rsin θ)
0.00
BIN
D0
D100
BIN
D1000
D1000
SIN
D200
D400
COS
D200
D300
END
*F
D1200
D300
D10000
*F
D1200
D400
D20000
FLT
D100
D200
FLT
D1000
D1200
RAD
D200
D200
0.00
BIN
D0
D100
BIN
D1000
D1000
SIND
D200
D400
COSD
D200
D300
END
*D
D1200
D300
D10000
*D
D1200
D400
D20000
DBL
D100
D200
DBL
D1000
D1200
RADD
D200
D200
Ladder Program for the
Single-precision Calculation
Ladder Program for the
Double-precision Calculation

Table of Contents

Related product manuals