Home
Omron
Processor
CP - PROGRAMMING MANUAL 05-2007
Page 790
Omron CP - PROGRAMMING MANUAL 05-2007 - Page 790
1175 pages
Manual
Save Page as PDF
To Next Page
To Next Page
To Previous Page
To Previous Page
Loading...
757
Step Instr
uctions
Section 3-
21
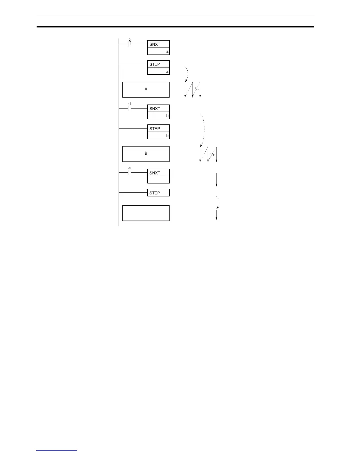
Step a starts when C turns ON
A executed
When d turns ON, b starts (A is interlocked)
B executed
e turns ON (B is interlocked)
End of step programming area
Normal ladder
program
Returns to normal ladder program
789
791
Table of Contents
Main Page
Table of Contents
12
About this Manual
14
Related Manuals
16
Precautions
22
General Precautions
23
Intended Audience
23
Safety Precautions
23
Operating Environment Precautions
25
Application Precautions
26
Applicable Directives
29
Concepts
29
Conformance to EC Directives
29
Relay Output Noise Reduction Methods
30
Conditions for Meeting EMC Directives When Using CP1, CP-Series, or CPM1A Relay Expansion I/O Units
31
Section 1 Programming Concepts
34
Programming Concepts
34
Programming Concepts
35
Programs and Tasks
35
Basic Information on Instructions
37
Instruction Location and Execution Conditions
39
Addressing I/O Memory Areas
40
Specifying Instruction Operands
41
Data Formats
46
Execution Conditions
50
Instruction Variations
50
I/O Instruction Timing
52
1-1-10 Refresh Timing
53
1-1-11 Program Capacity
55
1-1-12 Basic Ladder Programming Concepts
55
1-1-13 Inputting Mnemonics
60
1-1-14 Program Examples
61
Condition Flags
66
Precautions
66
Special Program Sections
71
Checking Programs
74
CX-Programmer
74
Program Checks with the CX-Programmer
75
Program Execution Check
76
Other Errors
77
Checking Fatal Errors
78
Introducing Function Blocks
79
Overview and Features
79
Function Block Specifications
80
Files Created with CX-Programmer
81
Section 2 Tasks
82
Overview
83
Programming with Tasks
83
Tasks and Programs
85
Basic CPU Unit Operation
86
Types of Tasks
87
Cyclic Task Status
89
Task Execution Conditions and Settings
89
Status Transitions
90
TASK on and TASK off
91
Using Tasks
91
Task Instruction Limitations
94
Flags Related to Tasks
95
Examples of Tasks
98
Designing Tasks
99
Global Subroutine
101
Interrupt Tasks
101
Types of Interrupt Tasks
101
External Interrupt
105
Interrupt Task Flags and Words
106
Application Precautions
107
CX-Programmer Operations for Tasks
108
Instructions
110
Notation and Layout of Instruction Descriptions
119
Sequence Input Instructions
122
Load: Ld
122
Load Not: Ld Not
124
And: and
126
And Not: and Not
128
Or: or
130
Or Not: or Not
131
And Load: and Ld
133
Or Load: or Ld
135
Differentiated and Immediate Refreshing Instructions
138
Operation Timing for I/O Instructions
139
Tr Bits
140
Sequence Output Instructions
146
Output: out
146
Output Not: out Not
147
Set and Reset: Set and Rset
155
Sequence Control Instructions
165
Overview of Interlock Instructions
166
Timer and Counter Instructions
201
Timer Operation
202
Comparison Instructions
242
Data Movement Instructions
280
Data Shift Instructions
307
Specified Values Only
342
Increment/Decrement Instructions
353
Symbol Math Instructions
369
Conversion Instructions
422
Logic Instructions
469
Special Math Instructions
484
Floating-Point Math Instructions
505
Double-Precision Floating-Point Instructions
558
Table Data Processing Instructions
600
Data Control Instructions
648
Subroutines
701
Interrupt Control Instructions
725
0000 Hex: Recorded Interrupt Retained
732
0001 Hex: Recorded Interrupt Cleared
732
S Recorded Interrupt Clear Specification
732
Section 3-19
733
High-Speed Counter/Pulse Output Instructions
738
Auxiliary Bit Area
739
CIO 0 to CIO
739
CIO Area
739
Counter Area
739
Holding Bit Area
739
Operand Specifications
739
Timer Area
739
Work Area
739
C0000 to C4095
749
D0 to D32767 @ D0 to @ D32767
749
T0000 to T4095
749
DR0 to DR15, IR0 to IR15
754
IR0 to ,IR15
754
To +2047, IR0 to -2048 to +2047, IR15
754
Step Instructions
784
IR0+(++) to ,IR15+(++) ,-(- -)IR0 To, -(- -)IR15
786
Application Examples
796
Basic I/O Unit Instructions
802
Serial Communications Instructions
838
3-24 Network Instructions
877
Network Instructions
877
Cmnd
915
Recv
915
Send
915
Explt
916
Egatr
923
Esatr
930
Echrd
936
Echwr
940
Display Instructions
944
Function Page
944
Clock Instructions
951
Section 3-26 Clock Instructions
963
Always Set to
965
Debugging Instructions
965
Hour (00 to 23, BCD)
965
Month (01 to 12, BCD)
965
Year (00 to 99, BCD)
965
Failure Diagnosis Instructions
969
Area
970
Operand Specifications
970
Other Instructions
994
Block Programming Instructions
1008
Text String Processing Instructions
1041
Auxiliary Bit Area
1043
CIO Area CIO 0 to CIO
1043
Holding Bit Area
1043
T0000 to T4092
1043
Timer Area
1043
Work Area
1043
Task Control Instructions
1073
Model Conversion Instructions
1080
Instruction Execution Times and Number of Steps
1098
Instruction Execution Times and Number of Steps
1099
Subroutine Instructions
1113
Function Block Instance Execution Time
1121
Instruction Classifications by Function
1124
List of Instructions by Function Code
1132
Alphabetical List of Instructions by Mnemonic
1148
C Alphabetical List of Instructions by Mnemonic
1161
Index
1162
Revision History
1172
Related product manuals
Omron CJ2
353 pages
Omron CP1L CPU
167 pages
Omron CP1H-X40D
810 pages
Omron CP1E Series
260 pages
Omron CJ2 CPU UNIT
424 pages