EasyManua.ls Logo

Omron CP1H CPU - Page 717

Omron CP1H CPU
788 pages
Print Icon
To Next Page IconTo Next Page
To Next Page IconTo Next Page
To Previous Page IconTo Previous Page
To Previous Page IconTo Previous Page
Loading...
683
Auxiliary Area Allocations by Address Appendix D
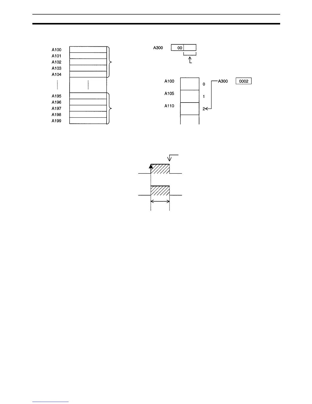
A300: Error Record Pointer
A501.00 to A501.15: CPU Bus Unit Restart Bits and
A302.00 to A302.15: CPU Bus Unit Initialization Flags
Error record 1
Error record 20
Example
Stored
Stored
Points to the next record to be used.
Stored
next
00 to 14 hex
A302.01
A501.01 (or at startup)
Unit initialized.
Example: Unit No. 1
Automatically turned OFF by system.
CPU Bus Unit Restart Bits
CPU Bus Unit Initialization Flags

Table of Contents

Related product manuals