EasyManua.ls Logo

Omron CP1H CPU - Page 727

Omron CP1H CPU
788 pages
Print Icon
To Next Page IconTo Next Page
To Next Page IconTo Next Page
To Previous Page IconTo Previous Page
To Previous Page IconTo Previous Page
Loading...
693
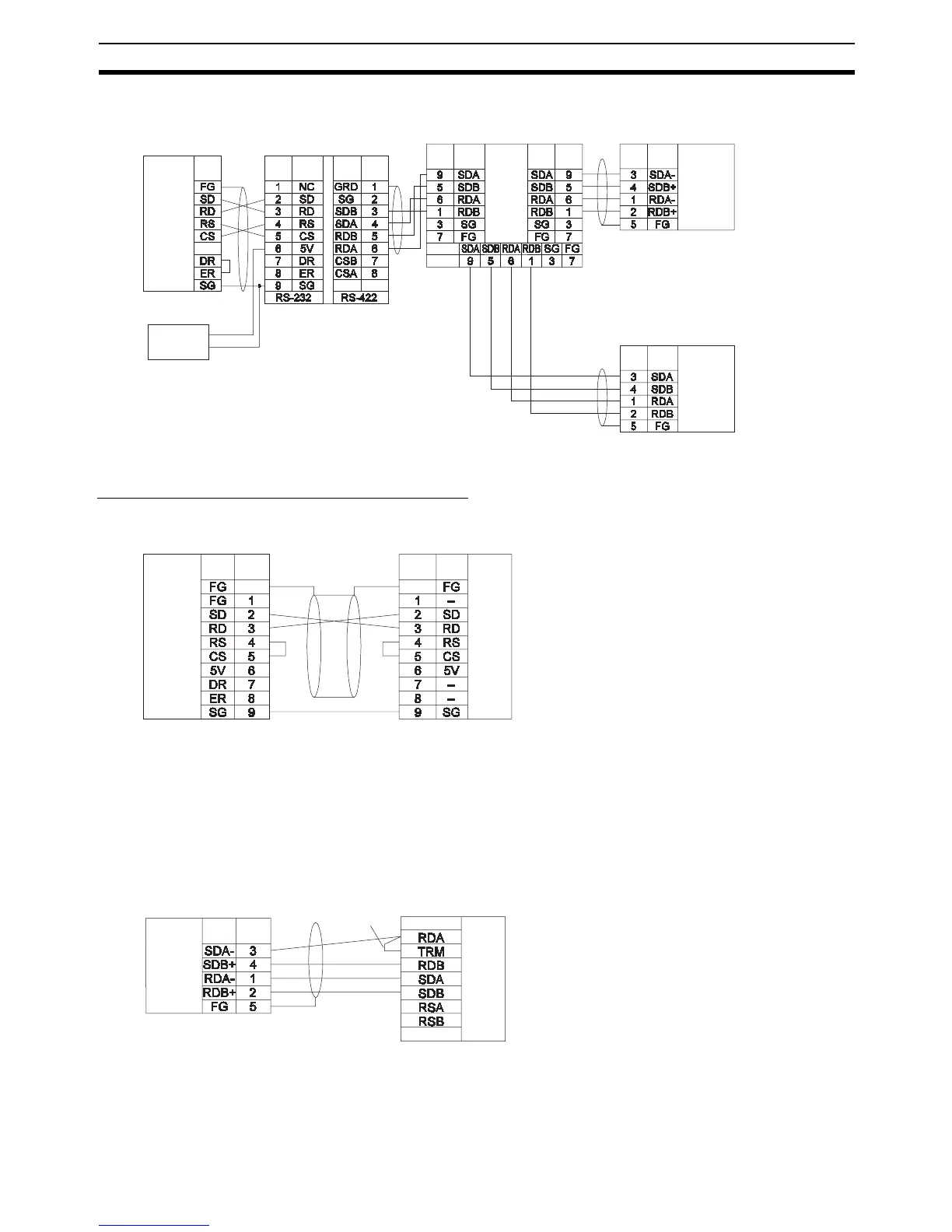
Connections to Serial Communications Option Boards Appendix F
Programmable Terminal (PT) Connections
Direct Connections from RS-232C to RS-232C Ports
Communications Mode: Host Link (unit number 0 only for Host Link)
NT Link (1:N, N = 1 Unit only)
OMRON Cables with Connectors:
XW2Z-200T-1: 2 m
XW2Z-500T-1: 5 m
1:1 Connections from RS-422A/485 to RS-422A/485 Ports
Communications Mode: Host Link (unit number 0 only for Host Link)
NT Link (1:N, N = 1 Unit only)
5-V (+)
power (-)
D-sub, 9-pin
connector (male)
NT-AL001 Link Adapter
Shield
RS-232C
Interface
DIP Switch Settings
Pin 1: ON
Pin 2: ON
(terminating resistance)
Pin 3: OFF
Pin 4: OFF
Pin 5: OFF
Pin 6: OFF
CPU Unit
Computer
Terminal block
Pin
Signal
Signal
Pin
Signal
Pin
Signal
Shield
D-sub, 9-pin
connector (male)
4-wire
Terminating resistance OFF
4-wire
Terminatin
g
resistance ON
CPU Unit
RS-422A/
485
Option
Board
Shield
B500-AL001 Link Adapter
RS-422A/
485
Option
Board
Pin
Signal
Pin
Signal
Pin
Signal
Pin
Signal
RS-422A/
485
Option
Board
CPU Unit
PinSignal
PT
D-sub, 9-pin
connector
(
male
)
RS-232C
Interface
Hood
Hood
D-sub, 9-pin
connector
(
male
)
RS-232C
Option
Board
Pin Signal
CPU Unit
Pin
Signal
Signal
PT
Terminal block or
D-sub connector
Hood
Terminal block
RS-422A
/485 In-
terface
Short bar
RS-422A
/485
Option
Board
(See note 2.)

Table of Contents

Related product manuals