EasyManua.ls Logo

Omron NJ501-1500

Omron NJ501-1500
990 pages
To Next Page IconTo Next Page
To Next Page IconTo Next Page
To Previous Page IconTo Previous Page
To Previous Page IconTo Previous Page
Loading...
2-459
2 Instruction Descriptions
NJ-series Instructions Reference Manual (W502)
Conversion Instructions
2
AryByteTo
Order specifies the order to join the elements of In[]. The data type of Order is enumerated type
_eBYTE_ORDER. The meaning of the enumerators are as follows:
If the data type of OutVal is two bytes or larger, elements from In[] are joined so that the result is just
large enough for the size of the data type of OutVal. The result is stored in OutVal. The following data
types have two bytes or more.
The processing procedure is as follows:
1
In[0] and In[1] are joined according to the value of Order to create one word (two bytes) of data.
If Order is _LOW_HIGH, the higher byte is stored in In[1] and the lower byte is stored in In[0]. If
Order is _HIGH_LOW, the higher byte is stored in In[0] and the lower byte is stored in In[1].
2
In the same way elements that start from In[2] and In[3] are joined to make more words of data.
3
The words of data are joined to match the size of the data type of OutVal. For example, if OutVal
is DWORD data, four individual words of data are joined.
4
The resulting data is stored in OutVal.
The following example is for when OutVal is DWORD data, Size is UINT#4, and Order is _LOW_HIGH.
Enumerators Meaning
_LOW_HIGH Lower byte first, higher byte last
_HIGH_LOW Higher byte first, lower byte last
When the Data Type of OutVal Is Two Bytes or Larger
Classification Data type
Bit strings WORD, DWORD, and LWORD
Integers UINT, UDINT, ULINT, INT, DINT, and LINT
Real numbers REAL and LREAL
Times, durations, dates, and
text strings
TIME, DATE, TOD, DT, and STRING types of two bytes or more
Others An enumeration, an array for which the total for all elements is 2 bytes or more,
an array element that is 2 bytes or more, a structure for which the total for all
members is 2 bytes or more, or a structure member that is 2 bytes or more
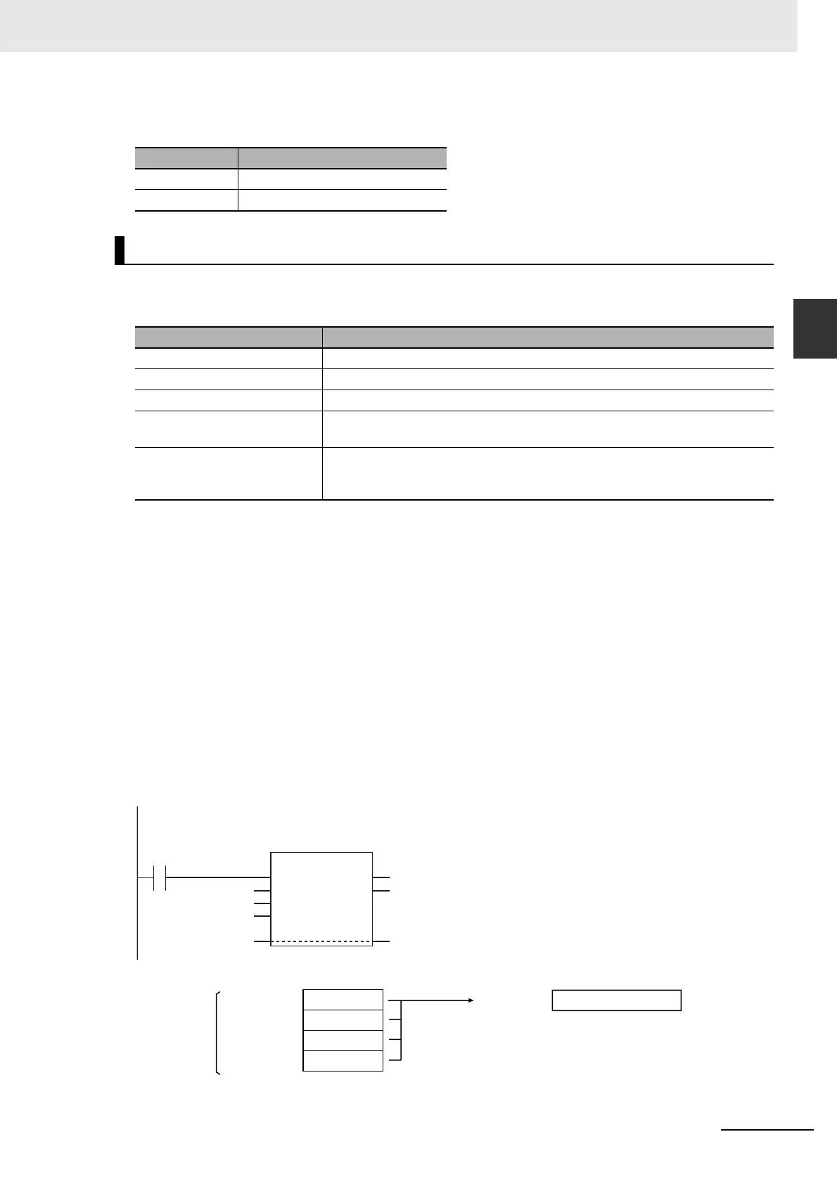
AryByteTo(abc[1], UINT#4, _LOW_HIGH, def);
LD ST
def
def
abc[1]
UINT#4
_LOW_HIGH
AryByteTo
EN ENO
In
Size
Order
OutVal
Size = UINT#4
OutVal=def
DWORD#16#01234567
In[0]=abc[1]
BYTE#16#67
BYTE#16#45
BYTE#16#23
BYTE#16#01
In[3]=abc[4]
In[2]=abc[3]
In[1]=abc[2]

Table of Contents

Related product manuals