EasyManua.ls Logo

Omron NJ501-1500

Omron NJ501-1500
990 pages
To Next Page IconTo Next Page
To Next Page IconTo Next Page
To Previous Page IconTo Previous Page
To Previous Page IconTo Previous Page
Loading...
2-471
2 Instruction Descriptions
NJ-series Instructions Reference Manual (W502)
Stack and Table Instructions
2
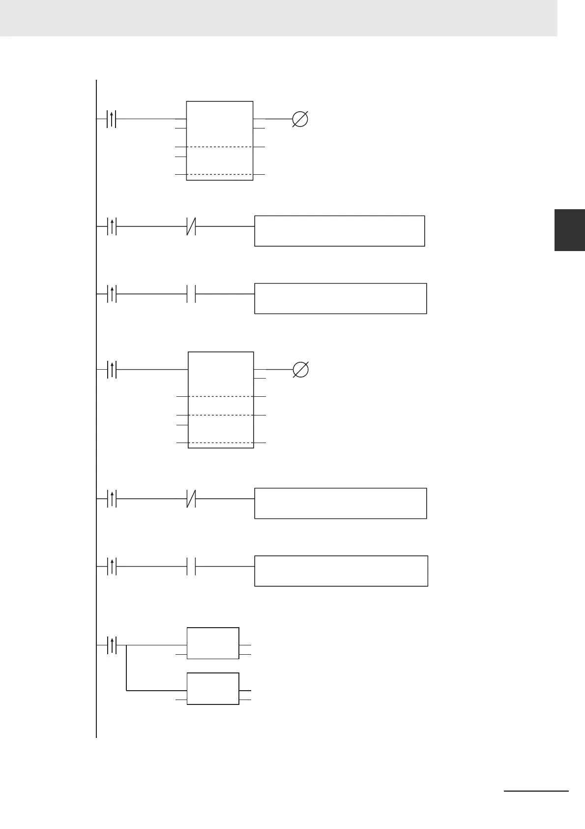
StackPush
StcAPushStat
StackPush_err
StackPush_err
StcAinVal
StcA[0]
StcASize
StcANum
Add data with StackPush instruction.
Processing after normal end of StackPush
StcAPushStat
StackPush
1 // Processing after normal end of StackPush
2 ;
EN ENO
In
InOut
Size
Num
StackPush_err
Processing after error end of StackPush
StcAPushStat
1 // Processing after error end of StackPush
2 ;
StcALIFOStat
StackLIFO_err
Remove data with StackLIFO instruction.
StackLIFO
EN ENO
InOut
OutVal
Size
Num
StcAOutVal
StcA[0]
StcASize
StcANum
StackLIFO_err
Processing after normal end of StackLIFO
StcALIFOStat
1 // Processing after normal end of StackLIFO
2 ;
StackLIFO_err
Processing after error end of StackLIFO
StcALIFOStat
1 // Processing after error end of StackLIFO
2 ;
UINT#5555 StcAInsVal
SetParaIns
MOVE
EN ENO
In Out
UINT#2 StcAOffset
MOVE
EN ENO
In Out
Set the insert value and offset with StackInsh.
Inline ST
Inline ST
Inline ST
Inline ST

Table of Contents

Related product manuals