EasyManua.ls Logo

Omron NX-SID Series - A-3-5 Enable Switches

Omron NX-SID Series
492 pages
Print Icon
To Next Page IconTo Next Page
To Next Page IconTo Next Page
To Previous Page IconTo Previous Page
To Previous Page IconTo Previous Page
Loading...
A - 33
Appendix
NX-series Safety Control Unit Users Manual (Z930)
A-3 Application Examples
A
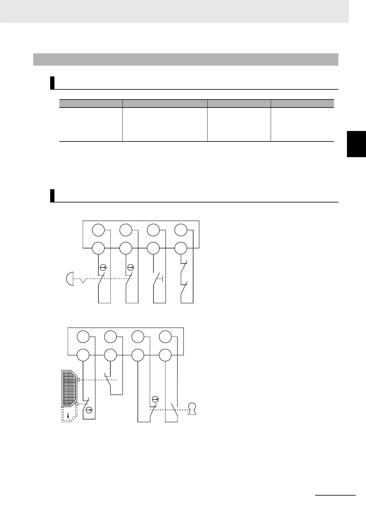
A-3-5 Enable Switches
Motor M stops when safety doors S3 and S4 are opened or Key selector switch S5 is maintenance
mode.
However, even if Key selector switch S5 is set to maintenance mode, motor M will operate if enable
switch S6 is ON.
A-3-5 Enable Switches
Application Overview
Safety category/PL Safety device Stop category Reset
Equivalent to 4/PLe
(Enable Switch)
Emergency stop pushbutton
Safety limit switch
Key selector switch
Enable switch
0 Manual
Wiring
OPEN
Unit 2 (NX-SIH400)
Unit 3 (NX-SIH400)
KM1
KM2
S2
Si0 Si1 Si2 Si3
T0 T1 T0 T1
S5
Si0 Si1 Si2 Si3
T0 T1 T0 T1
S3
S4
S1

Table of Contents

Related product manuals