EasyManua.ls Logo

Omron NX-SID Series - A-3-8 D40 Z Non-Contact Door Switches

Omron NX-SID Series
492 pages
Print Icon
To Next Page IconTo Next Page
To Next Page IconTo Next Page
To Previous Page IconTo Previous Page
To Previous Page IconTo Previous Page
Loading...
A - 43
Appendix
NX-series Safety Control Unit Users Manual (Z930)
A-3 Application Examples
A
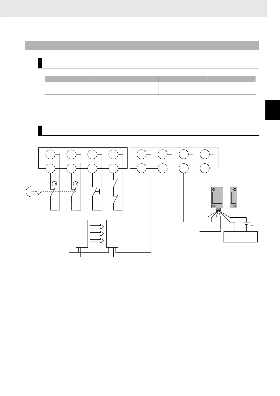
A-3-8 D40Z Non-contact Door Switches
If the light in safety light curtain S3 is interrupted and non-contact door switch S4 turns OFF at the same
time, the outputs are turned OFF.
The outputs also turn OFF when emergency pushbutton S1 is pressed.
A-3-8 D40Z Non-contact Door Switches
Application Overview
Safety category/PL Safety device Stop category Reset
Equivalent to 4/PLe
(Safety Light Curtain)
Safety light curtain
Emergency stop pushbutton
0 Manual
Wiring
Unit 2 (NX-SIH400)
Unit 3 (NX-SIH400)
GND
Si2 Si3
T0 T1
S4
Si0 Si1
T0 T1
KM1
KM2
S2
Si0 Si1 Si2 Si3
T0 T1 T0 T1
S3
IN
COM
S1
Emitter
24 VDC
24 VDC (Brown)
GND (Blue)
OSSD1 (Green)
OSSD2 (White)
Black
Blue
Brown
White
Receiver
Std I/O
(NX-ID)
Gray
Yellow

Table of Contents

Related product manuals