EasyManua.ls Logo

Omron NX-SID Series - A-3-10 Safety Edges

Omron NX-SID Series
492 pages
Print Icon
To Next Page IconTo Next Page
To Next Page IconTo Next Page
To Previous Page IconTo Previous Page
To Previous Page IconTo Previous Page
Loading...
A - 51
Appendix
NX-series Safety Control Unit Users Manual (Z930)
A-3 Application Examples
A
A-3-10 Safety Edges
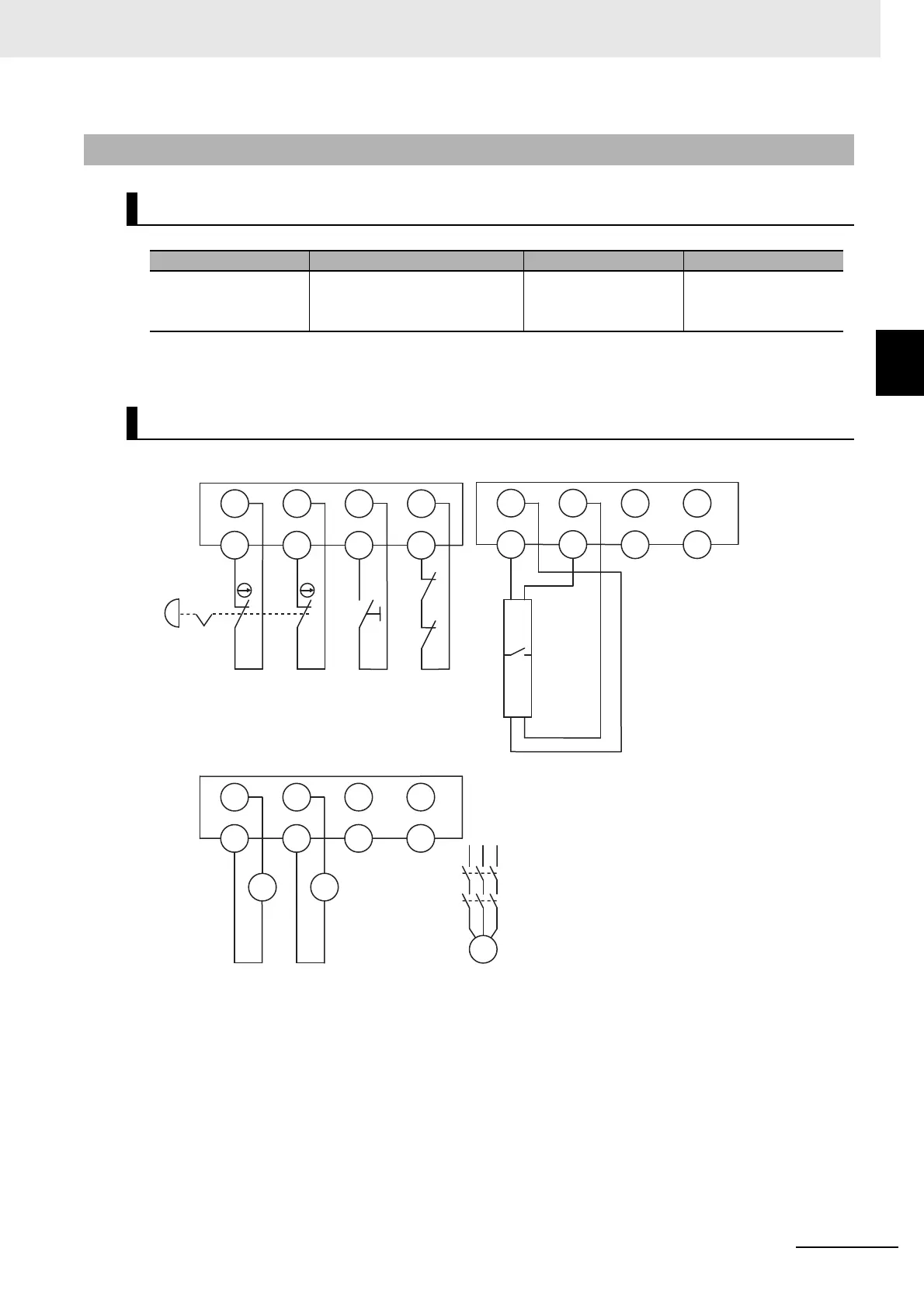
Motor M stops when emergency stop pushbutton S1 is pressed or when edge sensor detects a contact
with persons or objects.
A-3-10 Safety Edges
Application Overview
Safety category/PL Safety device Stop category Reset
Equivalent to 3/PLd
(Safety Edge)
Emergency stop pushbutton
Safety edge (2-wire cable on
both sides)
0 Manual
Wiring
S1: Emergency stop pushbutton
S2: Reset switch
S3: Safety edge
KM1 and KM2: Contactors
M: Motor
Unit 2 (NX-SIH400)
Unit 3 (NX-SIH400)
Unit 4 (NX-SOD400)
KM1
KM2
S2
Si0 Si1 Si2 Si3
T0 T1 T0 T1
Si2 Si3
T0 T1
Si0 Si1
T0 T1
S3
KM1 KM2
M
KM1
KM2
So0 So1 So2 So3
IOG IOG IOG IOG
S1

Table of Contents

Related product manuals