EasyManua.ls Logo

Panasonic KT4R - 9.4 Switching Auto;Manual Control (Auto;Manual Control Function)

Panasonic KT4R
131 pages
Print Icon
To Next Page IconTo Next Page
To Next Page IconTo Next Page
To Previous Page IconTo Previous Page
To Previous Page IconTo Previous Page
Loading...
9.4 Switching Auto/Manual Control (Auto/Manual Control Function)
Control action can be switched from automatic to manual and vice versa.
When power to the controller is turned ON, Automatic or Manual control is selectable.
Select Auto/Manual control’ in [OUT/OFF key function] in Engineering mode 1.
Factory default value is Control output OFF function.
Select Automatic control’ or ‘Manual control' in [Auto/Manual after power interruption]
in Engineering mode 1.
Factory default value is Automatic control.
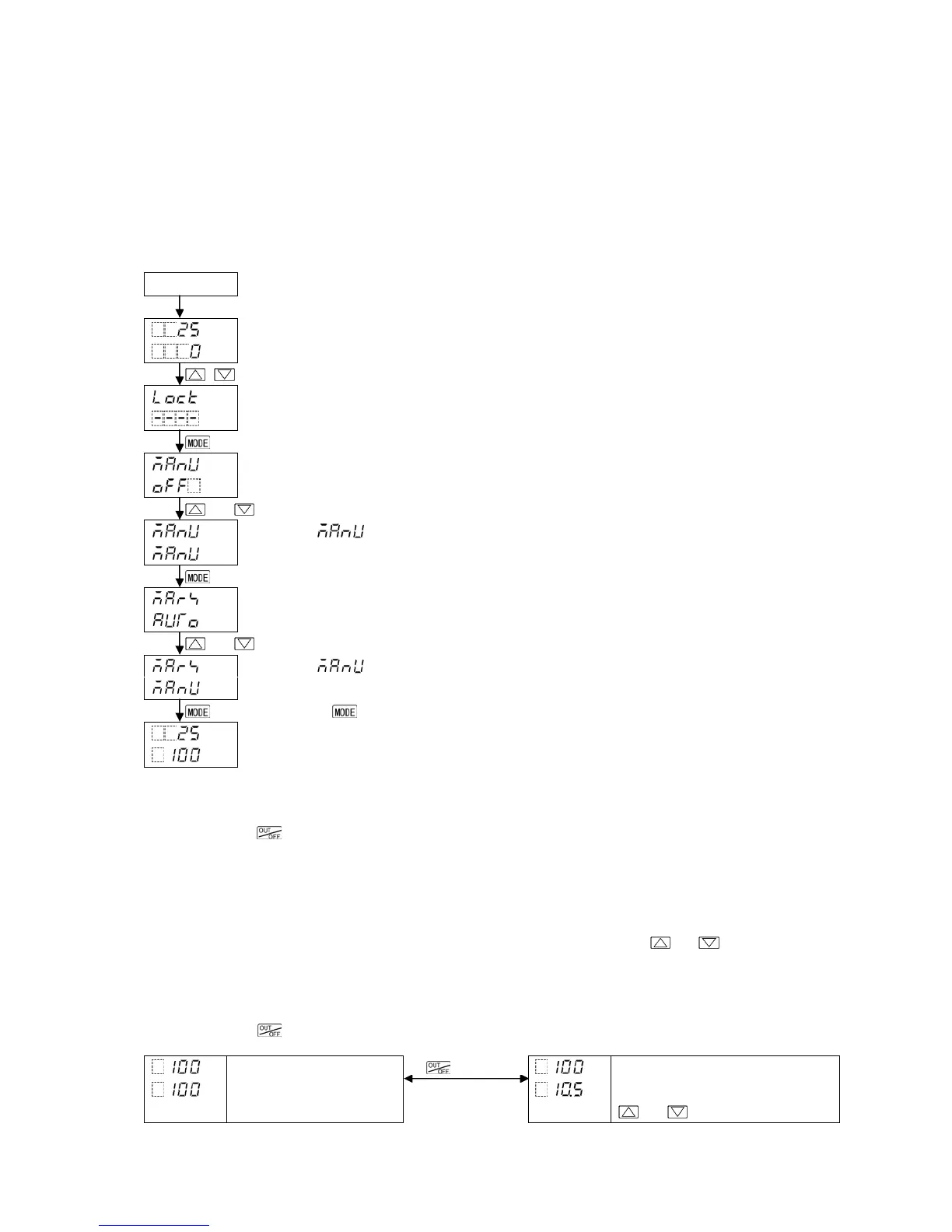
(Example) Selecting Auto/Manual control ‘and Manual control’ after power interruption
Power ON
RUN mode
PV/SV Display
+ (3 sec)
Engineering mode 1
Set value lock [62]
(Many times)
OUT/OFF key function [86]
or
Select (Auto/Manual control).
Auto/Manual after power interruption [87]
or
Select (Manual control).
(Many times) or (3 sec)
RUN mode
PV/SV Display
Now, selection is complete.
By pressing the key in PV/SV Display for approx. 1 second, Auto/Manual control function can be
switched.
If control action is switched from automatic to manual and vice versa, balanceless-bumpless function
works to prevent a sudden change in the MV.
When automatic control is switched to manual control, MV flashes in the SV display.
The MV in the SV Display can be increased or decreased by pressing the or key.
Data is saved 1 second after MV is changed, and manual control is performed.
When power is turned ON after interruption, control resumes using the previously saved MV (if manual
control is selected in [Auto/Manual after power interruption]).
By pressing the key again for approx. 1 second, the unit reverts to automatic control.
RUN mode (1 sec) MV flashes (Manual control).
PV/SV Display
(Automatic control)
MV increases/decreases with
or key.
Phone: 800.894.0412 - Fax: 888.723.4773 - Web: www.clrwtr.com - Email: info@clrwtr.com

Table of Contents

Other manuals for Panasonic KT4R

Related product manuals