EasyManua.ls Logo

Pfaff 3801-3/07 - Page 124

Pfaff 3801-3/07
126 pages
Print Icon
To Next Page IconTo Next Page
To Next Page IconTo Next Page
To Previous Page IconTo Previous Page
To Previous Page IconTo Previous Page
Loading...
15 - 5
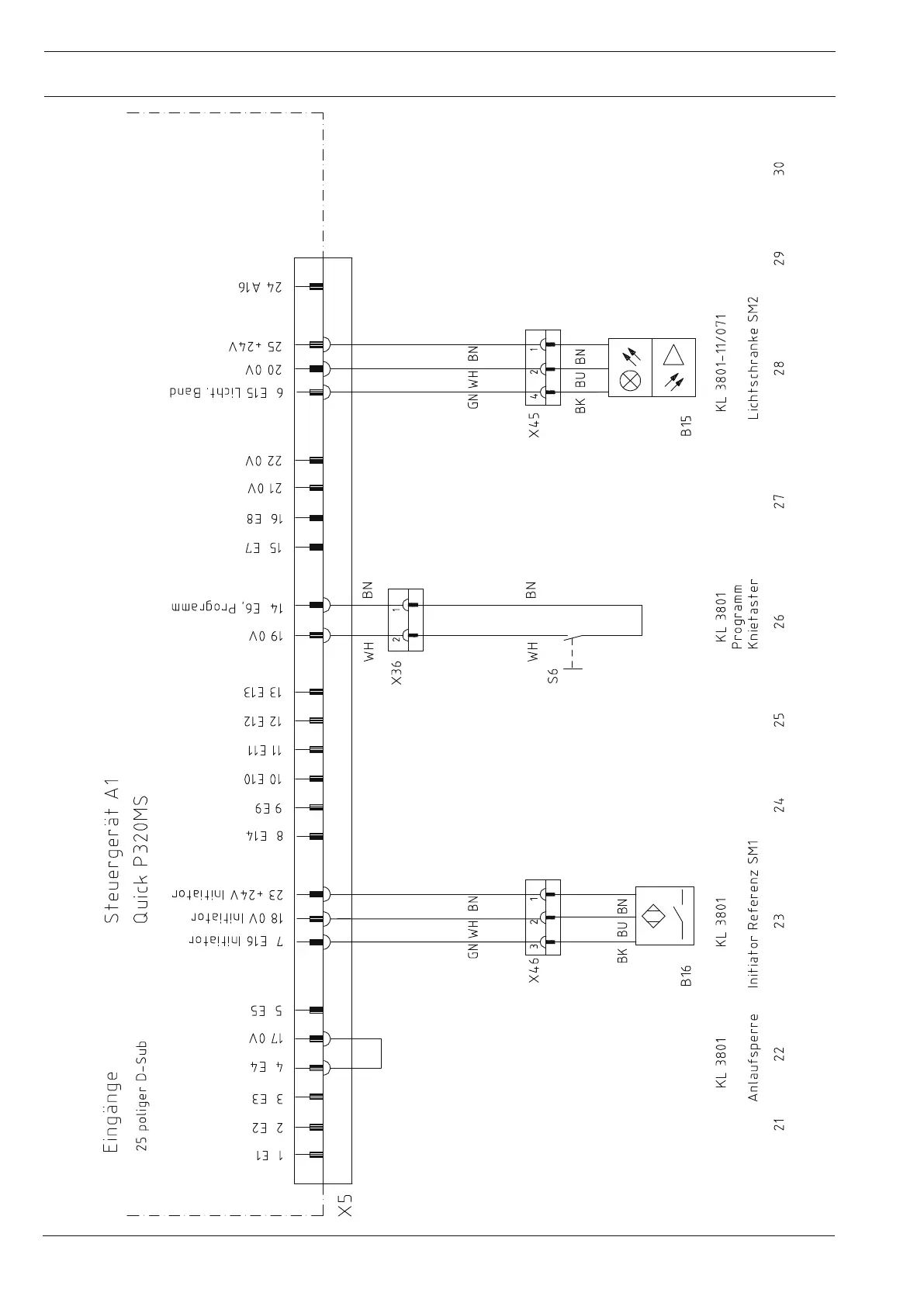
Circuit diagrams
Version 01.09.05 91-191 495-95
Page 3

Table of Contents

Related product manuals