EasyManua.ls Logo

PIAGGIO 633929(IT) - Potentiometer

PIAGGIO 633929(IT)
314 pages
Print Icon
To Next Page IconTo Next Page
To Next Page IconTo Next Page
To Previous Page IconTo Previous Page
To Previous Page IconTo Previous Page
Loading...
With the interface wiring disconnected from the
control unit, check the continuity of the geared mo-
tor winding placing the multimeter probes on pins
28 and 38 as indicated in the figure
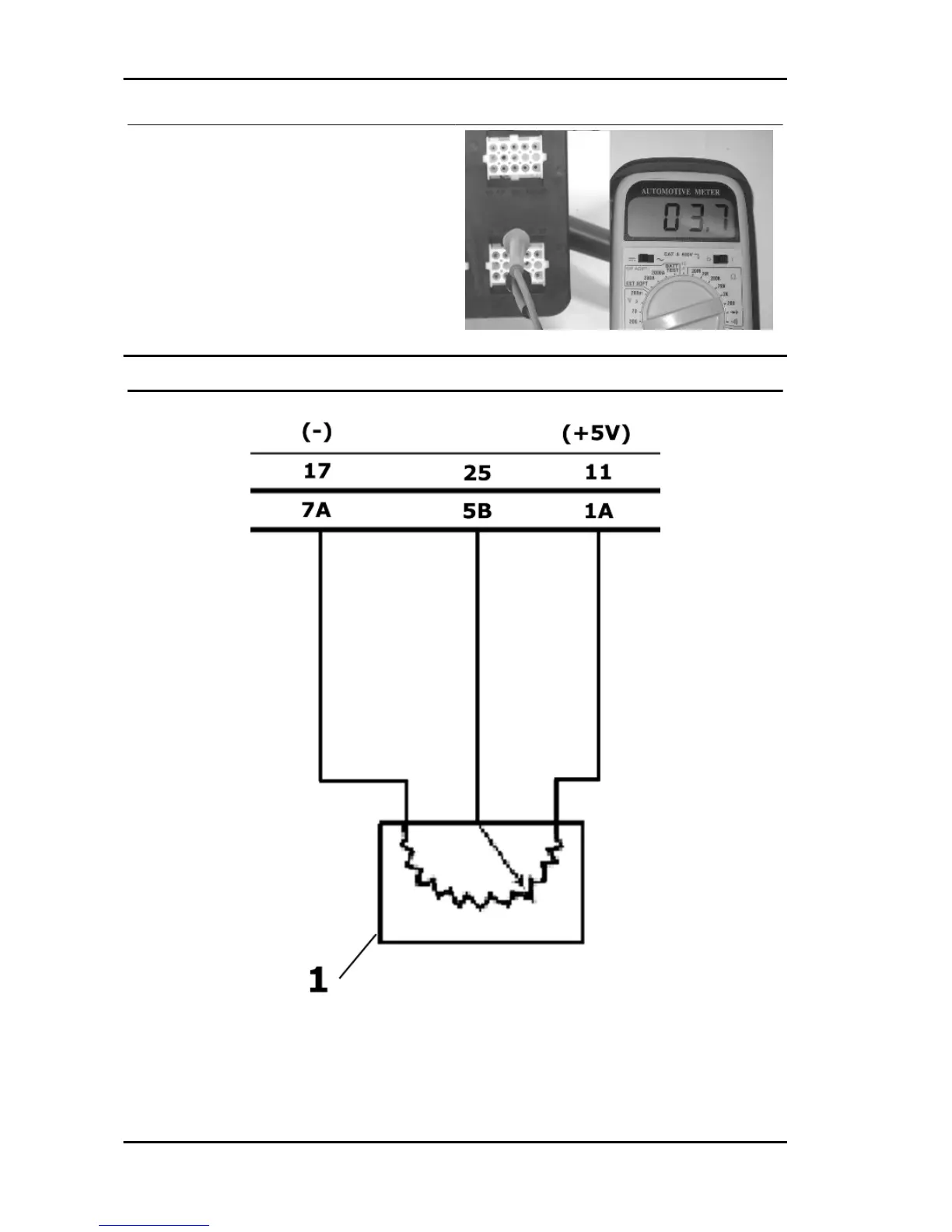
POTENTIOMETER
1: POTENTIOMETER
Suspensions MP3 125
SUSP - 34

Table of Contents

Related product manuals