EasyManua.ls Logo

Planmeca ProMax 3D Plus - General View of X-Ray Unit

Planmeca ProMax 3D Plus
106 pages
Print Icon
To Next Page IconTo Next Page
To Next Page IconTo Next Page
To Previous Page IconTo Previous Page
To Previous Page IconTo Previous Page
Loading...
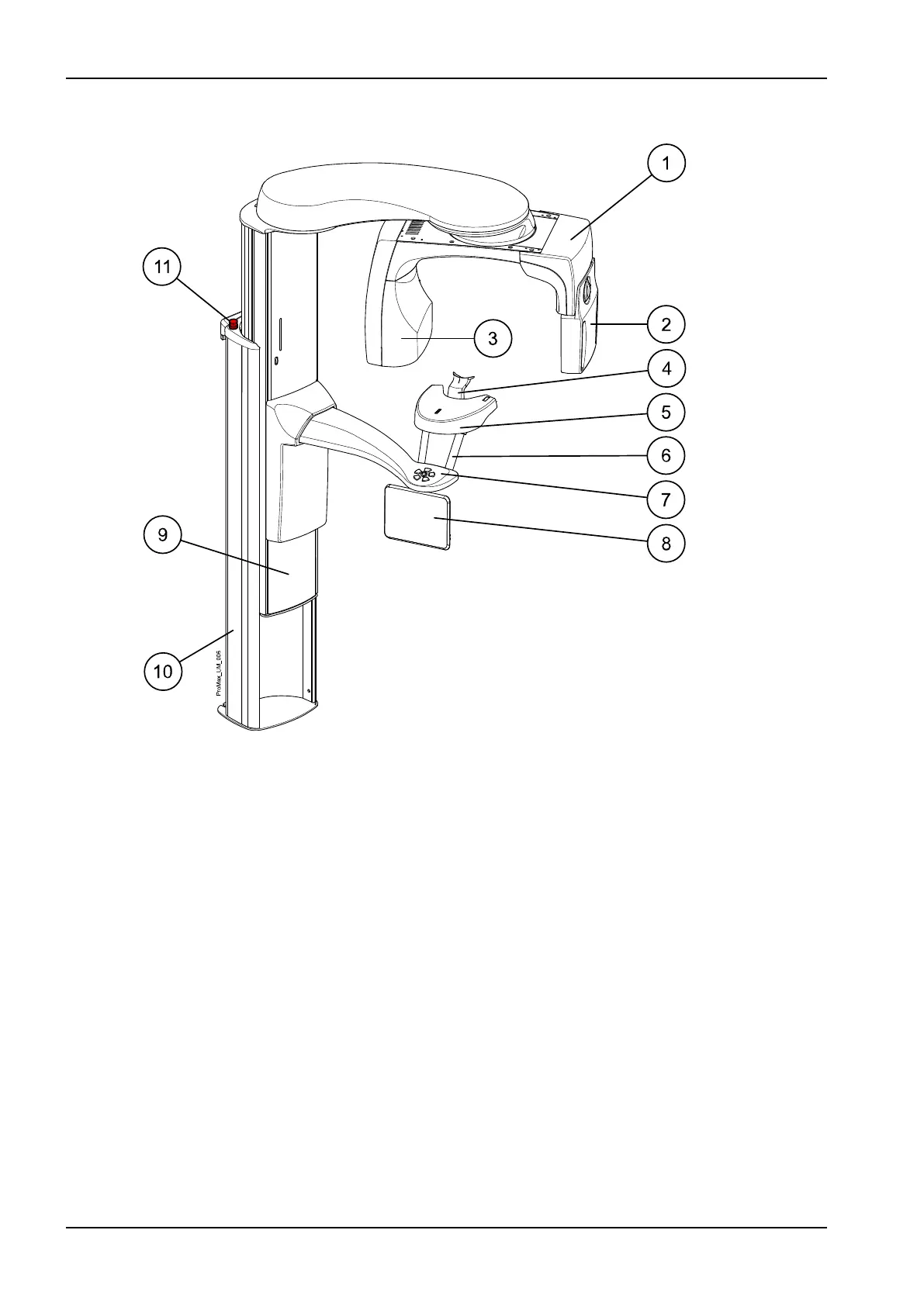
6.2 General view of X-ray unit
1 C-arm
2 Sensor (see section "Sensor" on page 11)
3 Tube head (see section "Tube head" on page 11)
4 Patient supports (see section "Patient supports" on page 12)
5 Patient support table
6 Patient handles
7 Patient positioning controls (see section "Patient positioning
controls" on page 19)
8 Touch screen (see section "Touch screen" on page 14)
9 Telescopic column
10 Stationary column
11 Emergency stop button (see section "Emergency stop button" on
page 14)
6 Main parts
10 Planmeca ProMax User's manual

Table of Contents

Other manuals for Planmeca ProMax 3D Plus

Related product manuals