EasyManua.ls Logo

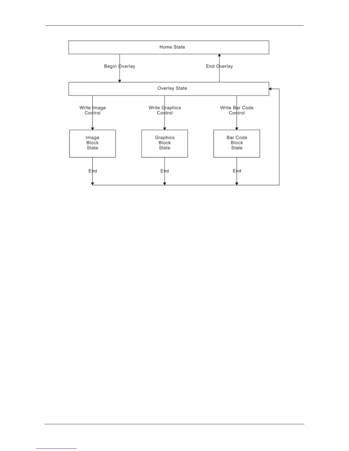
Printronix S828 - Figure 10. the Relationship between Home State, Overlay State, and Block State

Printronix S828
424 pages
Print Icon
To Next Page IconTo Next Page
To Next Page IconTo Next Page
To Previous Page IconTo Previous Page
To Previous Page IconTo Previous Page
Loading...
ProgrammerManual PTXS828
Chapter4IPDSCommands 104 260071001A
Figure 10. The Relationship between Home State, Overlay State, and Block State
Page Segment State
The printer enters the page segment state from the home state as a result of receiving a Begin Page
Segment command. A parameter in the Begin Page Segment command provides an identifier for later
references to this segment.
Page segments assume the environment (Logical Page Descriptor, Load Font Equivalence, and Load
Equivalence) that is active at the time the segment is presented.
While in a page segment state, the printer can only receive commands to write text, image, bar code, and
graphics blocks.
Figure 11 shows the relationship between the home state, page segment state, and block
states.

Table of Contents

Related product manuals