EasyManua.ls Logo

Printronix S828 - Figure 17. the Graphic Medium Presentation Space and Its Limits; Figure 18. the Graphic Window Within the Graphic Medium Presentation Space

Printronix S828
424 pages
Print Icon
To Next Page IconTo Next Page
To Next Page IconTo Next Page
To Previous Page IconTo Previous Page
To Previous Page IconTo Previous Page
Loading...
ProgrammerManual PTXS828
Chapter5IPDSProgrammingInformation 162 260071001A
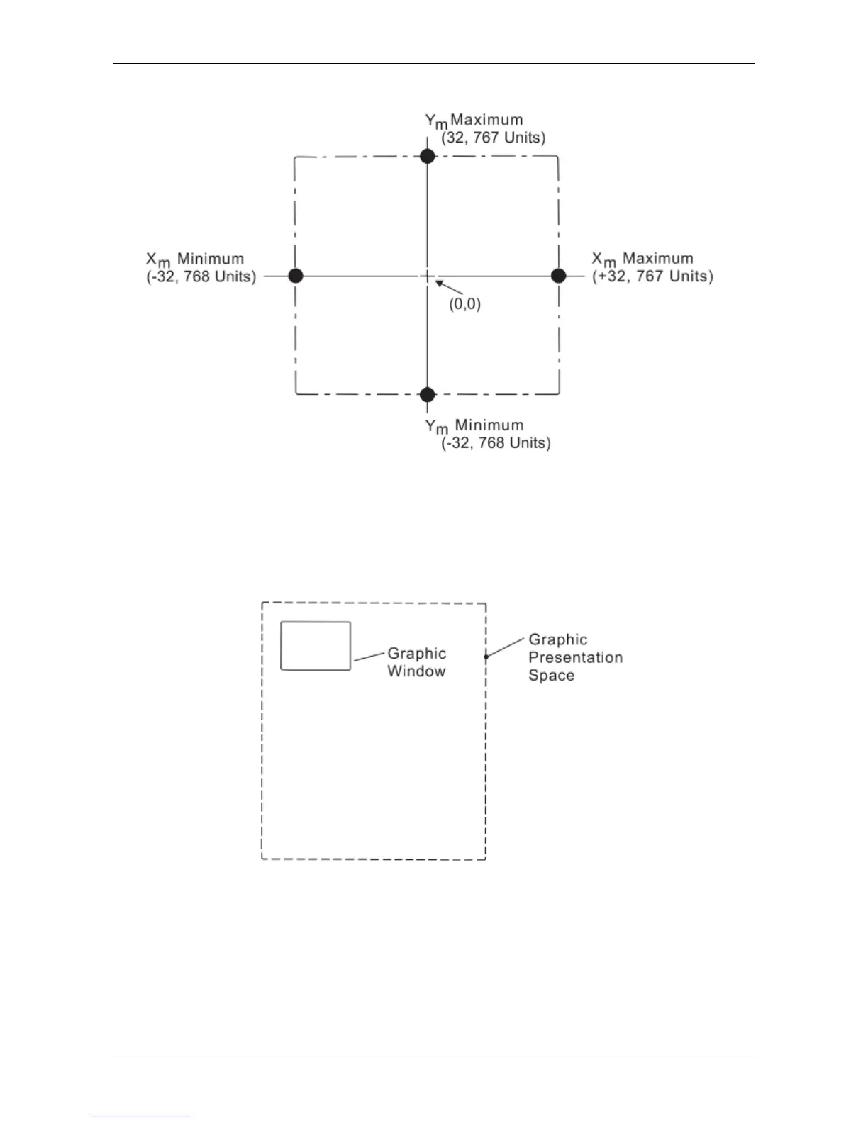
Figure 17. The Graphic Medium Presentation Space and Its Limits
Graphic Window
The graphic window is a user-defined, rectangular area within the graphic medium presentation space.
This area is the source from where information is selected for printing. Figure 18 illustrates the relationship
of the graphic window to the graphic medium presentation space.
Figure 18. The Graphic Window within the Graphic Medium Presentation Space
Graphic Block Area
The graphic block area is the part of the current physical medium in which the graphics is printed.
The graphic block area can overlap other output (such as text or images) specified earlier for the same
page. Likewise, subsequent output specified by other commands for the same page can overlap the
graphic block area. Figure 19 shows the graphic block area and its relationship to the
physical medium.

Table of Contents

Related product manuals