EasyManua.ls Logo

Ricoh FT9101 - Page 278

Ricoh FT9101
635 pages
Print Icon
To Next Page IconTo Next Page
To Next Page IconTo Next Page
To Previous Page IconTo Previous Page
To Previous Page IconTo Previous Page
Loading...
Simplex originals to duplex copy mode
The original motion in the RDH is just like the simplex
original to simplex copy mode.
In case of the other RDH and finisher systems, usually
two cycles of the simplex original feeding makes one set
of duplex copies. The first cycle of the original feeding is
to make copies of the odd pages of originals. The copies
are stacked in the duplex tray. Then, for the second
original feeding, the even pages of originals are copied
onto the reverse sides of the copies from the duplex
tray. This motion is repeated until all the desired sets of
copies are completed.
For this copier, the alternate paper feeding system is
used to speed up the simplex to duplex copy job. The
first original feeding is just as for other RDH and finisher
systems. The odd pages of originals are copied and the
copies are stacked in the duplex tray. However, the
second original feeding and the following steps are
different.
Unlike the other RDH and finisher systems, from the
second original feeding, both the odd and even pages of
originals are copied in one original feeding cycle. (This
means that originals are copied in sequential order.) The
alternate paper feeding system allows this.
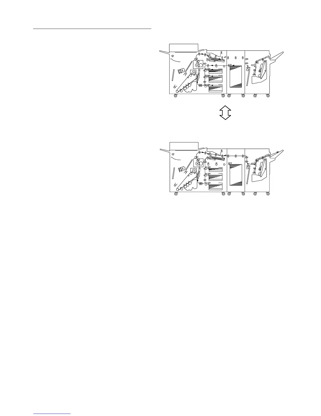
When an odd page of originals is copied, paper is fed
from the normal paper tray. The copy is stacked in the
duplex tray. (See the upper illustration.) When the next
original (an even page) is copied, the copy (made and
stacked in the duplex tray during the previous cycle of
the original feeding) is fed from the duplex tray. The
original image is copied onto the reverse side of the
copy then the copy is delivered. (See the lower
illustration.) The copier repeats feeding the paper from
the normal paper tray and from the duplex tray
alternately. This is called the alternate paper feeding.
For more details, refer to the "Alternate Paper Feeding
Timing Chart".
The copier repeats the above motion until the desired
sets of copies are completed. (During the final original
feeding cycle, only the even pages of originals are
copied and all the copies in the duplex tray are fed out.)
As a result, the copier can complete the copy job in the
same number of original feeding cycles as the desired
number of copies, plus one. On the other hand, in the
other RDH and finisher systems, the original feeding
cycle is repeated twice the desired number of copy sets.
The duplex copies are automatically delivered to the
finisher shift tray, not to the copier copy tray. The copies
are stacked in page order on the tray without the
inversion of copies unlike the simplex original to simplex
copy mode.
NOTE:
When the simplex originals to duplex copy mode is selected, if a
margin of 15 mm (5/8") or more is entered in the margin adjustment
mode, the copying speed is set at 61 cpm, whatever size of original
or copy paper is used. Copies are made using the OPC segment
for A3 size copy. (The images of 3 originals are produced for one
rotation of the OPC belt.) If the difference in the selected margin
between the front and reverse side of the copy image is 15 mm
(5/8") or greater, e.g. 5 mm (2/8") margin at the left on the front
side and 10 mm (3/8") margin at the right on the reverse side, the
copying speed is also set at 61 cpm.
Copy paper motion for even originals
Copy paper motion for odd originals
1 July 1994 Outline of Mechanism
1-11

Table of Contents