EasyManua.ls Logo

Ricoh FT9101 - Total

Ricoh FT9101
635 pages
Print Icon
To Next Page IconTo Next Page
To Next Page IconTo Next Page
To Previous Page IconTo Previous Page
To Previous Page IconTo Previous Page
Loading...
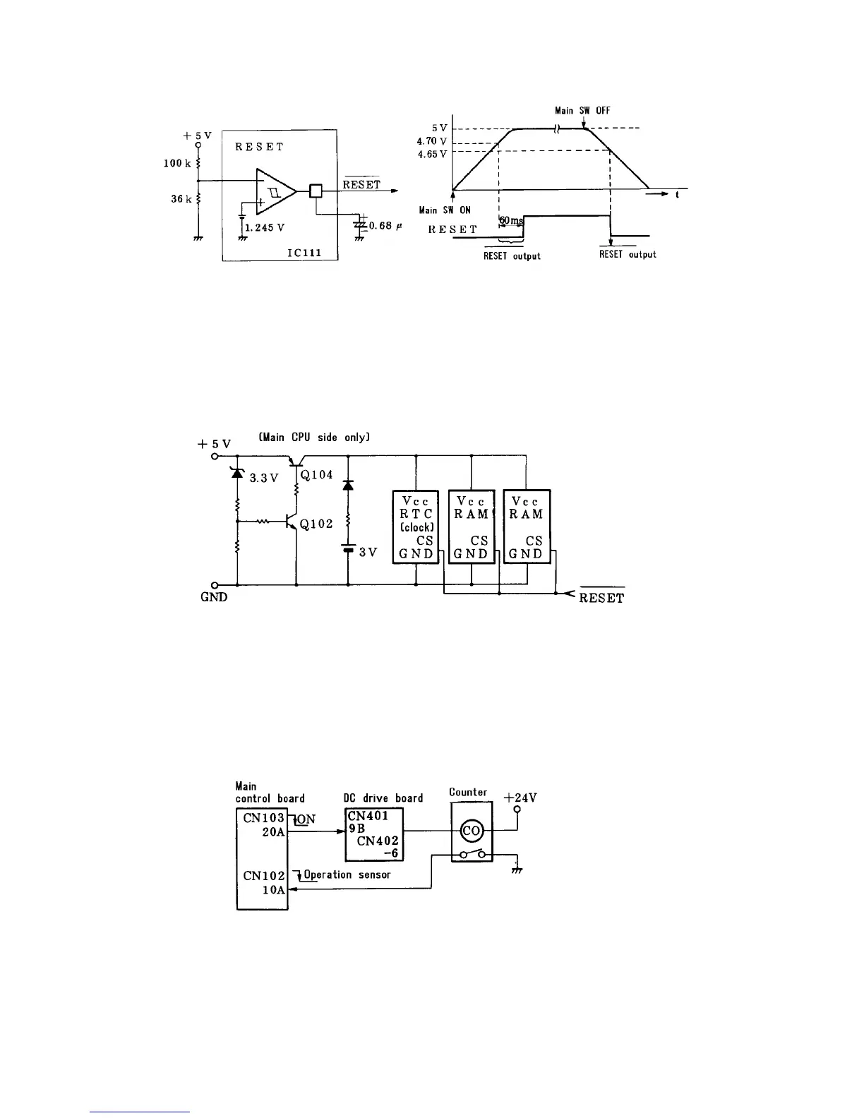
Reset circuit
When power is turned ON, the power ON reset signal is generated by the condenser for 60 ms after
voltage raises 4.7V. The CPU starts from 0FFFF0H by raising the reset signal. When power is
turned OFF, and the 5V power source drops (approximately 4.65V), the reset signal goes low (L)
again and the CPU stops each I/O operation.
RAM backup
When the +5V line is normal, Q102 and Q104 are turned ON and 5V is supplied to RAM and RTC.
When the 5V drops due to a power failure, etc., the transistor is turned OFF to select battery output.
2.15.3 Total counter
The total counter counts when a copy is fed out. For copying on the front side in the duplex mode,
the duplex entrance junction sensor is used to count up the counter.
1 July 1994
Electrical Control
2-133

Table of Contents

Related product manuals