EasyManua.ls Logo

Ricoh FT9101 - Page 386

Ricoh FT9101
635 pages
Print Icon
To Next Page IconTo Next Page
To Next Page IconTo Next Page
To Previous Page IconTo Previous Page
To Previous Page IconTo Previous Page
Loading...
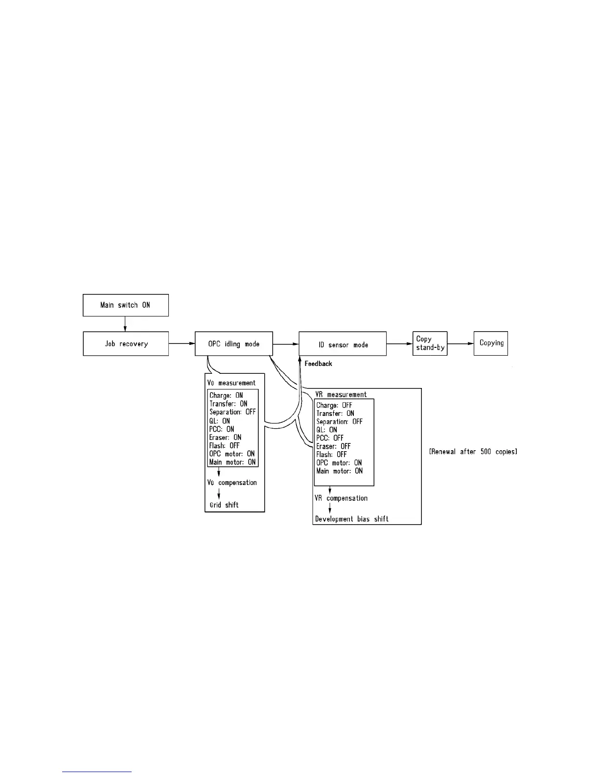
2.11.4 Process control timing
At power ON
After power is turned on and the fusing temperature reaches 175°C, the main motor turns on to
feed out any sheets in the paper path of the machine if there are any. Then, the machine enters the
OPC idling mode. V0 and VR compensations are done during this period as shown below. The
machine enters the copy stand-by condition after the ID sensor mode finishes.
For the VR measurement, the OPC surface is charged by the transfer corona and the quenching
lamp clears it. Then, the potential sensor (B sensor) senses the OPC surface. VR compensation is
done at power on and after every 500 or more copies.
For the V0 measurement, the OPC surface is charged by the charge corona. Then, the potential
sensor (B sensor) senses the OPC surface without exposing. V0 compensation is done only at
power on when the machine has been at rest more than one hour. The V0 measurement is also
done at the end of each copy run. When the machine has been at rest less than one hour, the value
of V0 immediately before the power was turned off is used as is.
Process Control
1 July 1994
2-86

Table of Contents