EasyManua.ls Logo

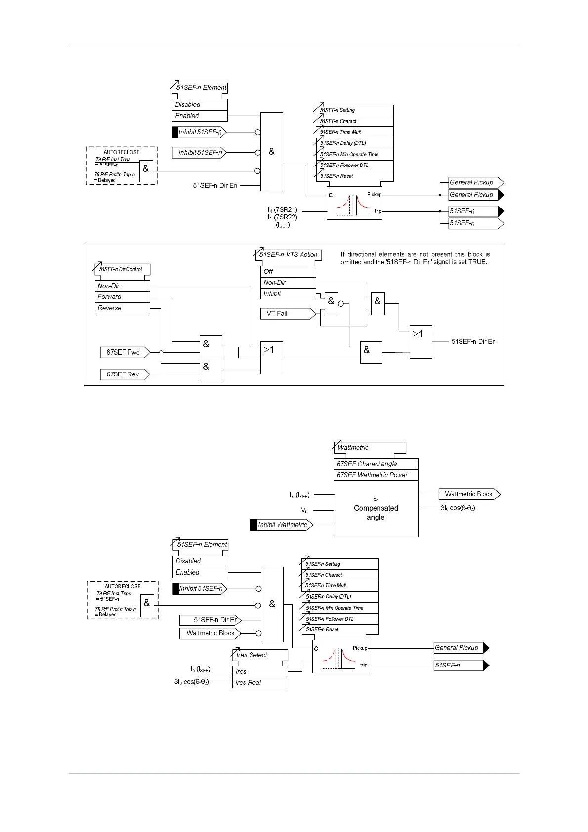
Siemens Argus 7SR21 - Figure 3.5.3-1 Logic Diagram: 51 SEF Time Delayed Element; Figure 3.5.3-2 Logic Diagram: 51 SEF Time Delayed Element Compensated Networks

Siemens Argus 7SR21
644 pages
Print Icon
To Next Page IconTo Next Page
To Next Page IconTo Next Page
To Previous Page IconTo Previous Page
To Previous Page IconTo Previous Page
Loading...
7SR210 & 7SR220 Description of Operation
Unrestricted Page 42 of 94 ©2018 Siemens Protection Devices Limited
Figure 3.5.3-1 Logic Diagram: 51 SEF Time Delayed Element
Figure 3.5.3-2 Logic Diagram: 51 SEF Time Delayed Element Compensated Networks

Table of Contents

Other manuals for Siemens Argus 7SR21

Related product manuals