EasyManua.ls Logo

Siemens Simatic S7-300 - Module View and Block Diagram of the SM 331; AI 8 X TC

Siemens Simatic S7-300
574 pages
To Next Page IconTo Next Page
To Next Page IconTo Next Page
To Previous Page IconTo Previous Page
To Previous Page IconTo Previous Page
Loading...
Analog Modules
4-139
Programmable Logic Controllers S7-300 Module Data
A5E00105505-03
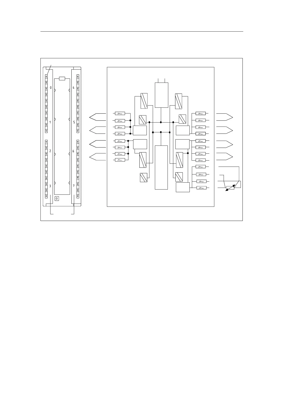
Terminal connection diagram and block diagram of the SM 331; AI 8 x TC
2
20
1
3
4
5
6
7
8
9
10
11
12
13
14
15
16
17
18
19
DC
to
DC
ADC
L- M+
Back-
plane
bus
inter-
face
ADC
ADC
ADC
Ext
KV
22
40
21
23
24
25
26
27
28
29
30
31
32
33
34
35
36
37
38
39
Ext KV
M
L+
Channel
0
Channel
1
Channel
2
Channel
3
lc-
lc+
KV-
KV+
TC+0
TC-0
TC+1
TC-1
TC+2
TC-2
TC+3
TC-3
TC+4
TC-4
TC+5
TC-5
TC+6
TC-6
TC+7
TC-7
K4
K5
K6
K7
Channel
number
Fault indicator – red
SF
Figure 4-45 Module View and Block Diagram of the SM 331; AI 8 x TC

Table of Contents

Other manuals for Siemens Simatic S7-300

Related product manuals