EasyManua.ls Logo

Siemens Simatic S7-300 - Isolation between the Bus Segments

Siemens Simatic S7-300
574 pages
To Next Page IconTo Next Page
To Next Page IconTo Next Page
To Previous Page IconTo Previous Page
To Previous Page IconTo Previous Page
Loading...
RS 485 Repeater
7-5
Programmable Logic Controllers S7-300 Module Data
A5E00105505-03
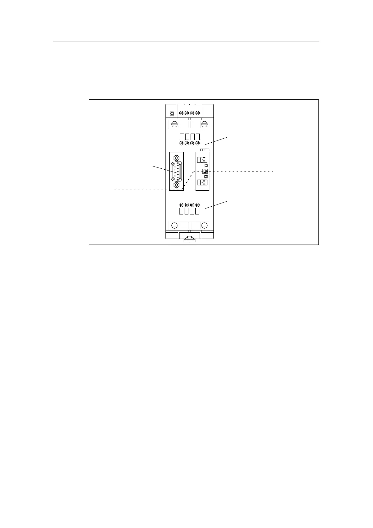
Isolation between bus segments
Bus segment 1 and bus segment 2 are galvanically isolated from each other. The
PG/OP interface is connected internally to the port for bus segment 1. Figure 7-2
shows the front panel of the RS 485 repeater.
24 VDC
L+ M PE M 5.2
SIEMENS
RS 485-REPEATER
ON
A1 B1 A1 B1
A2 B2 A2 B2
PG
OP
DP2
OFF
ON
DP1
Terminals for bus segment 1
Terminals for bus segment 2
PG/OP
interface
Isolation
Figure 7-2 Isolation between the Bus Segments
Amplification of the bus signals
The amplification of the bus signals takes place between the port for bus segment
1 or the PG/OP interface and the port for bus segment 2.

Table of Contents

Other manuals for Siemens Simatic S7-300

Related product manuals