EasyManua.ls Logo

Technogym Forma - PRINCIPLES OF OPERATION; 3.1. BLOCK DIAGRAM AND COMPONENTS

Technogym Forma
140 pages
Print Icon
To Next Page IconTo Next Page
To Next Page IconTo Next Page
To Previous Page IconTo Previous Page
To Previous Page IconTo Previous Page
Loading...
FORMA: Service & Maintenance manual - rev. 3.0
Page 3.1
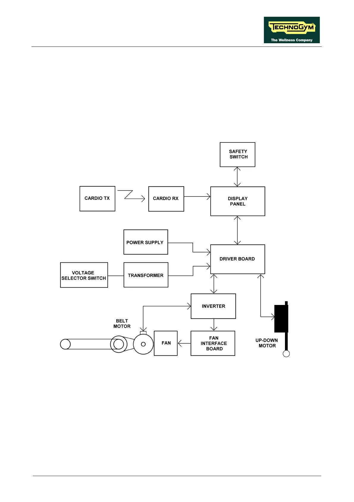
3. PRINCIPLES OF OPERATION
3.1. BLOCK DIAGRAM
The block diagram of the machine is shown in the figure below:
3.1.1. C
ARDIO TRANSMITTER
It is worn by the person using the machine, and transmits to the cardio receiver one pulse for every
heart beat that is detected.
Only the traditional version of the component (non coded) is used.
3.1.2. CARDIO RECEIVER
It is connected to the machine’s CPU board and receives the pulses sent by the transmitter. Its
reception area is approximately a circle of 1 meter of radius. If there is electromagnetic noise
(produced by high voltage lines, radio transmitters, monitors, motors, etc.) within its reception area,

Table of Contents

Related product manuals