EasyManua.ls Logo

Waters 600e - Page 57

Default Icon
162 pages
Print Icon
To Next Page IconTo Next Page
To Next Page IconTo Next Page
To Previous Page IconTo Previous Page
To Previous Page IconTo Previous Page
Loading...
32 Making Electrical Connections to the 600 Controller
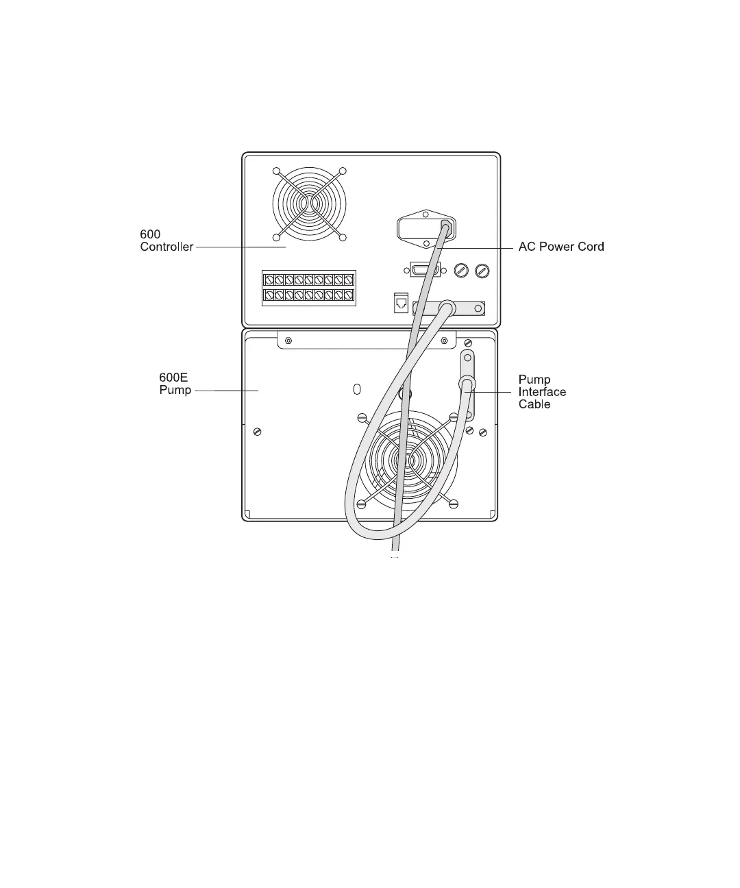
2. Connect the 37-pin interface cable to the pump interface connector on the 600
controller rear panel (Figure 3-2).
3. Connect the other end of the 37-pin interface cable to the rear of the 600E pump.
Figure 3-2 Pump Interface Cable and Power Cord Locations
Attaching the AC Power Cord
1. Insert the D-shaped connector end of the power cord into the power receptacle on
the 600 controller rear panel (see Figure 3-2).
2. Insert the other end of the power cord into the wall outlet. For more information,
refer to Section 1.3.1, System Power Requirements.

Table of Contents

Other manuals for Waters 600e

Related product manuals