EasyManua.ls Logo

Xerox WorkCentre 4150

Xerox WorkCentre 4150
631 pages
To Next Page IconTo Next Page
To Next Page IconTo Next Page
To Previous Page IconTo Previous Page
To Previous Page IconTo Previous Page
Loading...
January 2016
4-54
WorkCentre WorkCentre 4150/4250/4260WorkCentre 4150/4250/42604150/
REP 5.13
Repairs and Adjustments
REP 5.13 DADF Document Path Sensors (4250/4260)
Parts List on PL 5.55
Removal
WARNING
Switch off the electricity to the machine. Disconnect the power cord from the customer
supply while performing tasks that do not need electricity. Electricity can cause death or
injury. Moving parts can cause injury.
CAUTION
Before performing this procedure, refer to General Disassembly Precautions, GP 10.
1. Open the DADF top cover assembly, PL 5.30 Item 2.
2. Remove the lower guide assembly, Figure 1.
Figure 1 Lower Guide Assembly Removal
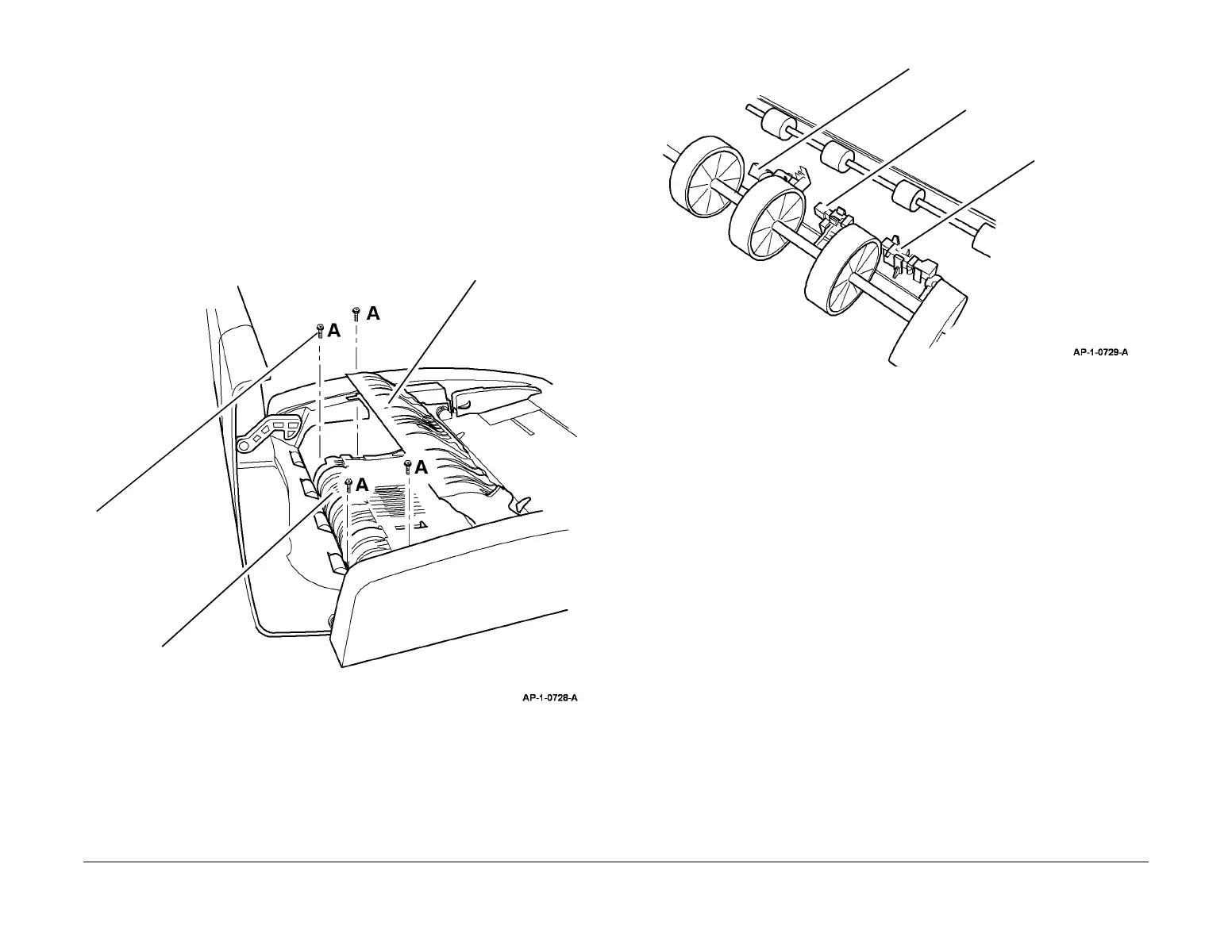
3. Remove the relevant sensor, Figure 2.
Figure 2 Sensor Removal
Replacement
Replacement is the reverse of the removal procedure.
2
Remove 4 screws
marked A.
1
Raise the pickup
guide assembly.
3
Remove the lower
guide assembly.
Gate sensor
Scan sensor
Duplex sensor

Table of Contents

Other manuals for Xerox WorkCentre 4150

Related product manuals