EasyManua.ls Logo

YASKAWA OYMC V1000

YASKAWA OYMC V1000
408 pages
To Next Page IconTo Next Page
To Next Page IconTo Next Page
To Previous Page IconTo Previous Page
To Previous Page IconTo Previous Page
Loading...
1.8 L: Protection Functions
208 YASKAWA ELECTRIC SIEP C710606 10A YASKAWA AC Drive - V1000 PRELIM. Programming Manual
For more information, see H2-01 to H2-03: Terminal MA/MB/MC, P1/PC and P2/PC
Function Selection on page 157, Settings 13, 14, 15, and 16.
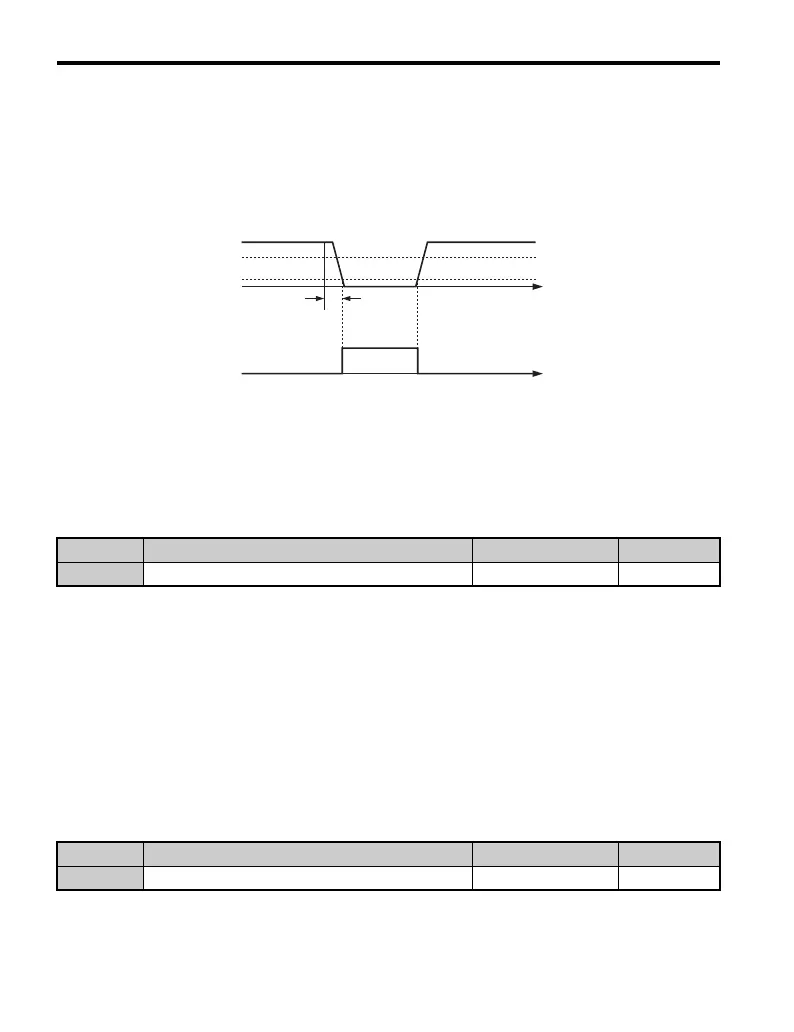
L4-05: Frequency Reference Loss Detection Selection
The drive can detect a loss of an analog frequency reference from input A1 or A2. Reference
loss is detected when the frequency reference value reduces for 90% within 400 ms.
Figure 1.83
Figure 1.83 Loss of Reference Function
To have a fault output trigger when frequency reference loss occurs, set H2-01, H2-02, or
H2-03 to “C”. Refer to Setting C: Frequency Reference Loss on page 164 for details on
setting the output function.
Parameter L4-05 selects the operation when a frequency reference loss is detected.
Setting 0: Stop
The drive will stop the motor.
Setting 1: Continue Operation with Reduced Frequency Reference
The drive will continue operation at the frequency reference value set in parameter L4-06.
When the external frequency reference value is restored, the operation is continued with the
frequency reference.
L4-06: Frequency Reference at Reference Loss
Sets the frequency reference level the drive runs with when L4-05 = 1 and a reference loss
was detected. The value is set as a percentage of the maximum frequency.
No. Name Setting Range Default
L4-05 Frequency Reference Loss Detection Selection 0 or 1 0
No. Name Setting Range Default
L4-06 Frequency Reference at Reference Loss 0.0 to 100.0% 80.0%
100%
400ms
Analog
frequency
reference
Loss of
Reference
output
time
80%
10%
ON
OFF

Table of Contents

Related product manuals