EasyManua.ls Logo

YOKOGAWA UT520 - Calibrating Valve Position (Position Proportional Only)

YOKOGAWA UT520
108 pages
Print Icon
To Next Page IconTo Next Page
To Next Page IconTo Next Page
To Previous Page IconTo Previous Page
To Previous Page IconTo Previous Page
Loading...
<Toc> < 2. Initial Settings >
2-11
IM 05D01C02-41E 3rd Edition: May 31, 2006-00
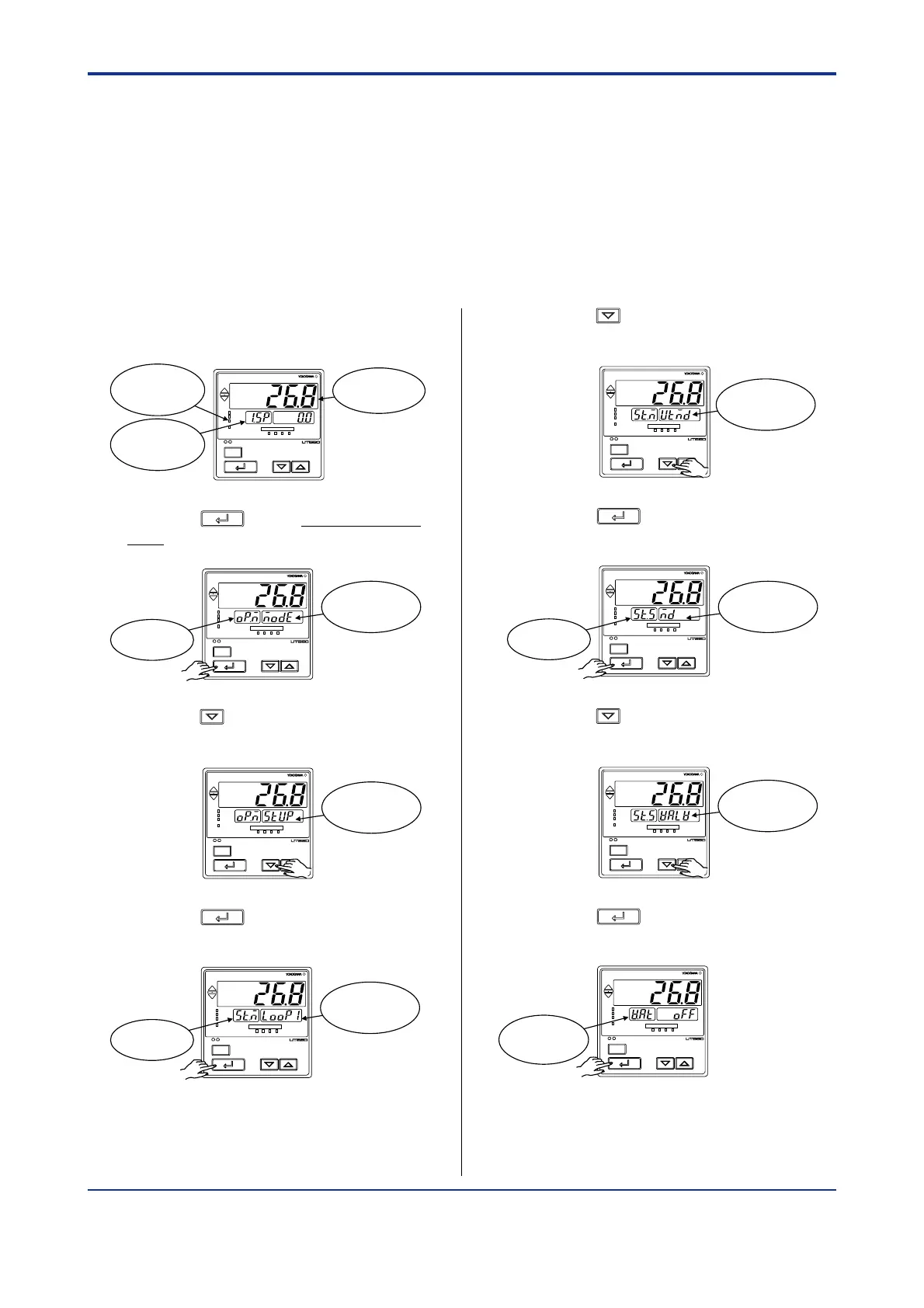
1. Bring the operating display into view
(display appears at power-on).
SET/ENT
A/M
PV
AL1 2 3 4
REM
CAS
MAN
LP2
Displays
target setpoint-1
1.SP.
MAN lamp
ON.
Displays PV
2. Press the
SET/ENT
key for more than 3 sec-
onds to call up the main menu MODE.
SET/ENT
A/M
PV
AL1 2 3 4
REM
CAS
MAN
LP2
Displays
symbol OP.M.
Displays
main menu
MODE.
3. Press the key once to display the main
menu STUP.
SET/ENT
A/M
PV
AL1 2 3 4
REM
CAS
MAN
LP2
Display
main menu
STUP.
4. Press the
SET/ENT
key once to display the
main menu LOOP1.
SET/ENT
A/M
PV
AL1 2 3 4
REM
CAS
MAN
LP2
Displays
symbol ST.M.
Displays
main menu
LOOP1.
2.5 Calibrating Valve Position
(for a Position Proportional Controller Only)
The following operation describes a procedure of inputting a feedback signal from a control
valve to calibrate the full closed and full open positions of the valve automatically. To cali-
brate the valve position, you need to carry out wire connections and bring the controller into
manual mode. For connections, see 1.5 Terminal Wiring Diagrams and for entering the
manual mode, see 3.8 Switching between AUTO and MAN .
5. Press the key once to display the main
menu UTMD.
SET/ENT
A/M
PV
AL1 2 3 4
REM
CAS
MAN
LP2
Displays main
menu UTMD.
6. Press the
SET/ENT
key once to display the
submenu MD.
SET/ENT
A/M
PV
AL1 2 3 4
REM
CAS
MAN
LP2
Displays
symbol ST.S.
Displays
submenu MD.
7. Press the key three times to display the
submenu VALV.
SET/ENT
A/M
PV
AL1 2 3 4
REM
CAS
MAN
LP2
Displays
submenu
VALV.
8. Press the
SET/ENT
key once to display the
parameter V.AT.
SET/ENT
A/M
PV
AL1 2 3 4
REM
CAS
MAN
LP2
Displays
parameter
V.AT.

Table of Contents

Related product manuals