EasyManua.ls Logo

Binder CB 170 - Control Panel on the Rear of the Chamber

Binder CB 170
175 pages
Print Icon
To Next Page IconTo Next Page
To Next Page IconTo Next Page
To Previous Page IconTo Previous Page
To Previous Page IconTo Previous Page
Loading...
CB (E7) 06/2018 Page 22/174
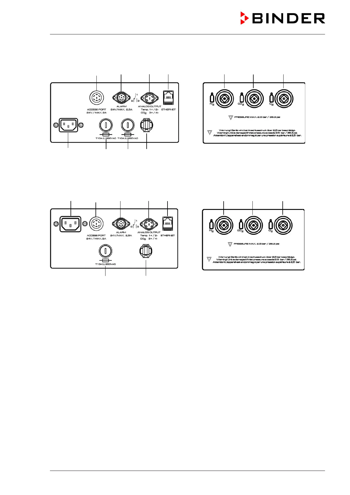
2.3 Control panel on the rear of the chamber
(2) (3) (4) (5) (9) (10) (11)
(1b) (6b) (7) (8)
Figure 5: Rear control panel CB with O
2
control and options
(1b) (2) (3) (4) (5) (9) (10) (11)
(6a) (8)
Figure 6: Rear control panel CB-UL with O
2
control and options
(1a) Socket for IEC connector plug / power cable 100-120 V AC
(1b) Socket for IEC connector plug / power cable 230 V AC
(2) External socket for extra-low voltage supply (option for CB 170 / CB 220, chap. 18.6)
(3) DIN-socket for zero-voltage relay alarm outputs
(4) DIN socket for analog outputs 4-20 mA (option, chap. 18.4)
(5) Ethernet interface for computer communication
(6a) Miniature fuse T12,5 A (L) 250 V AV for 100-120 V chamber
(6b) Miniature fuse T10 A (L) 250 V AC for 200-230 V chamber
(7) Miniature fuse T10 A (L) 250 V AC for 200-230 V chamber
(8) Strain relief for power cable
(9) Quick acting closure socket for N
2
(chamber with O
2
control)
(10) Quick acting closure socket for CO
2
(11) Quick acting closure socket for O
2
(chamber with O
2
control with optional alternative control range
10 up to 95 vol.-% O
2
)

Table of Contents

Related product manuals