EasyManua.ls Logo

Branson 2400 - Operation

Branson 2400
184 pages
Print Icon
To Next Page IconTo Next Page
To Next Page IconTo Next Page
To Previous Page IconTo Previous Page
To Previous Page IconTo Previous Page
Loading...
BRAKE
KUKJE MACHINERY CO., LTD.
112
2. OPERATION
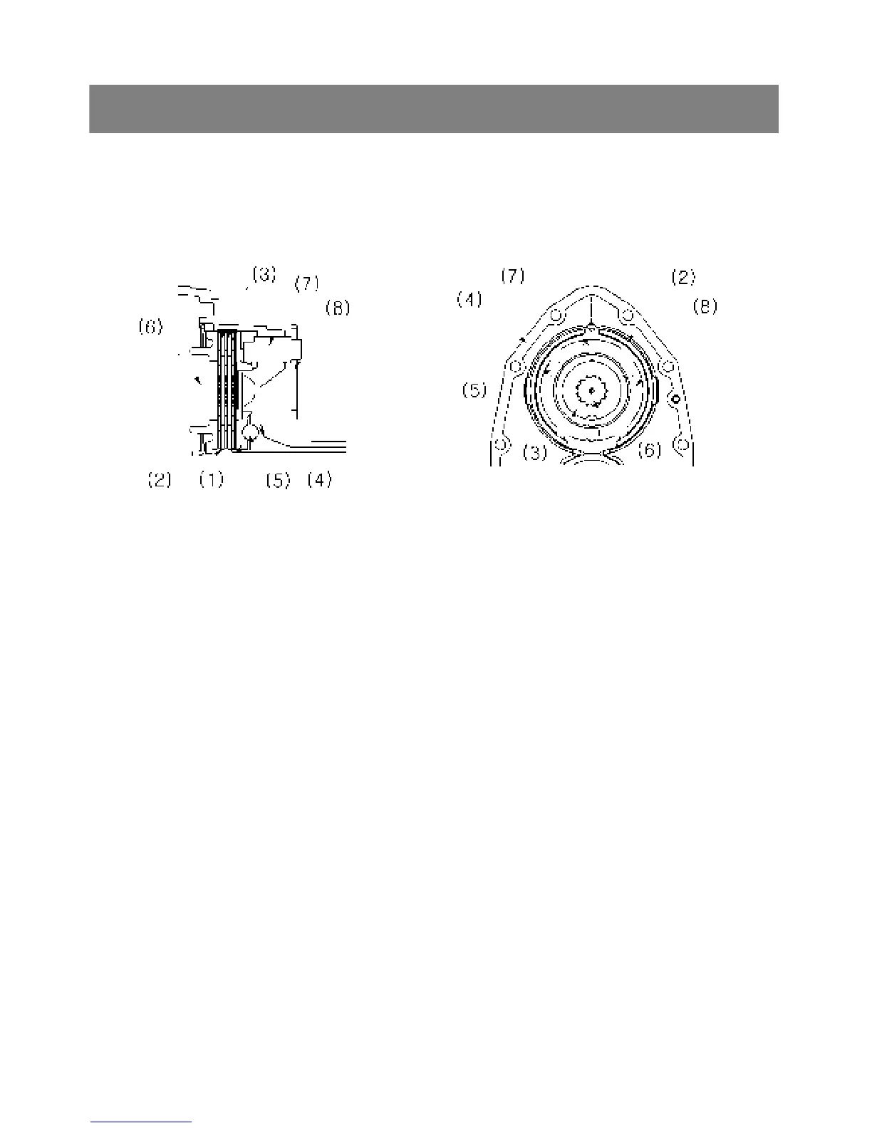
1) Cam Plate 2) Friction Plate 3) Brake Disc
4) Rear Axle Case 5) Steel Ball 6) Brake Shaft (Differential gear shaft)
7) Brake Cam 8) Brake Cam Lever
The brake body is incorporated in the rear axle case(4) filled with transmission oil and is designed to brake
when the brake disc(3) splinted with the differential gear shaft(6) is pressed against the cam plate(1) by
means of the cam mechanism incorporating steel balls(5).
For greater braking force, two brake discs are provided at the right and left sides respectively, and the
friction plate(2) fixed to the rear axle case is arranged between the brake discs.
During Braking
When the brake pedal is pressed, the linkage causes the brake cam lever(8) and brake cam(7) to turn into
the direction of the arrow shown in the above figure.
Therefore, the cam plate(1) also moves in the direction of arrow. At this time, since the cam plate(1) rides
on the steel balls(5) set in the grooves of the rear axle case to press the brake disc(3), the differential gear
shaft(6) is braked by the frictional force generated by the cam plate(1) and brake disc(3).

Table of Contents

Related product manuals