EasyManua.ls Logo

Case MDX71 - Breakaway Latch; Cutting Height

Case MDX71
162 pages
Print Icon
To Next Page IconTo Next Page
To Next Page IconTo Next Page
To Previous Page IconTo Previous Page
To Previous Page IconTo Previous Page
Loading...
SECTION 00 -- GENERAL INFORMATION -- CHAPTER 2
00-9
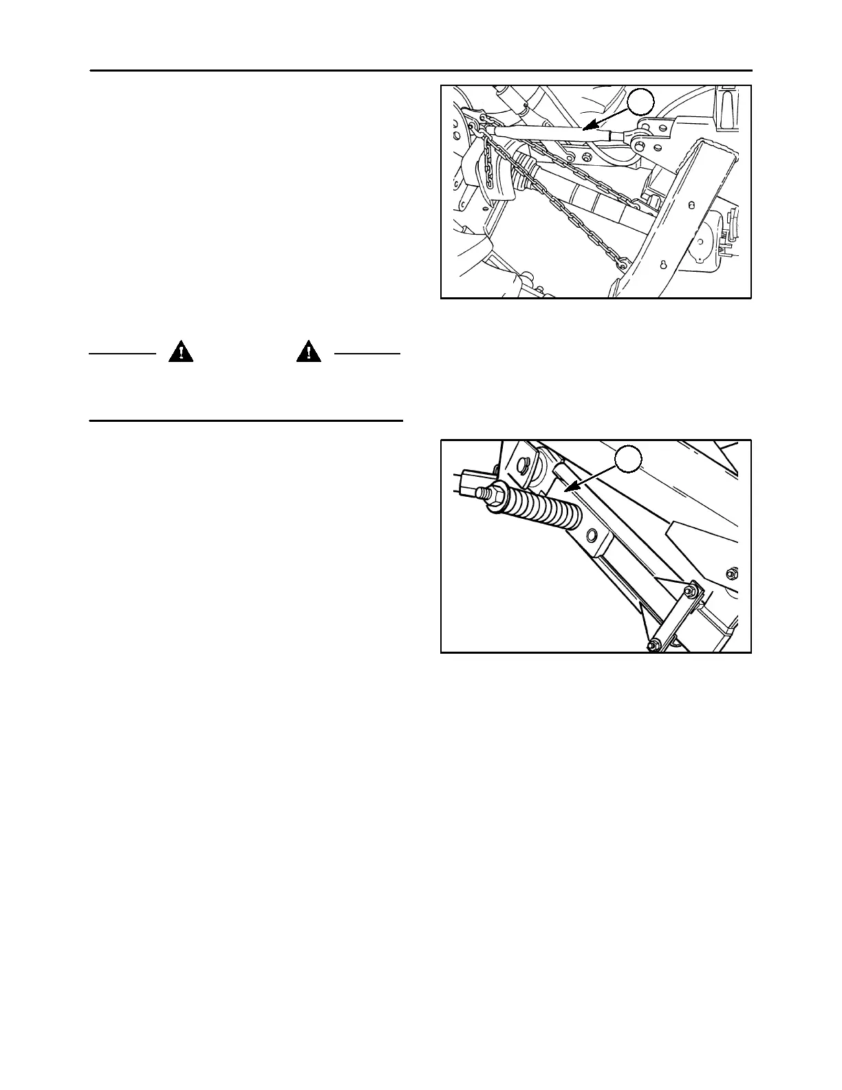
CUTTING HEIGHT
Change the cutting height by tilting the angle of the
cutter bar. Adjust top link length, 1, until the desired
cutting height is obtained. To determine the cutting
height, position a knife to the front of the cutter bar,
and measure from it to the ground.
Cutting too close to the ground will cause excessive
wear on the discs and knives. Cutting too high in fine
grasses may cause a ragged cut. Generally, a cutting
height of less than 51 mm (2) is required for most
crops.
Do not tilt the cutter bar rearward past horizontal
position or premature knife wear will result.
WARNING
Tilt the cutter bar back in fields where stones and
foreign objects are present to raise the cutting
knives and minimize ejections from the knives.
A3680-13r
1
7
BREAKAWAY LATCH
The mower can be operated at high speeds
depending on crop and field conditions. In rough field
conditions, the ground speed should be reduced.
The mower is protected with a breakaway system. If
an obstruction is hit, the breakaway latch, 1, will
break away and the cutter bar will swing rearward.
NOTE: If the latch releases, stop the tractor
immediately and disengage the PTO.
To reset the cutter bar, back the tractor and mower
until the cutter bar latches and is in its normal
position. Do not raise the cutter bar to re-latch the
breakaway.
Check for any cutter bar damage if an obstruction is
encountered.
If the cutter bar continues to break away, refer to the
“Maintenance” section of this manual.
A3679-24
1
8

Table of Contents

Related product manuals