EasyManua.ls Logo

Climax KM3000 - Page 30

Climax KM3000
122 pages
Print Icon
To Next Page IconTo Next Page
To Next Page IconTo Next Page
To Previous Page IconTo Previous Page
To Previous Page IconTo Previous Page
Loading...
Page 16 KM3000 KM4000 Operating Manual
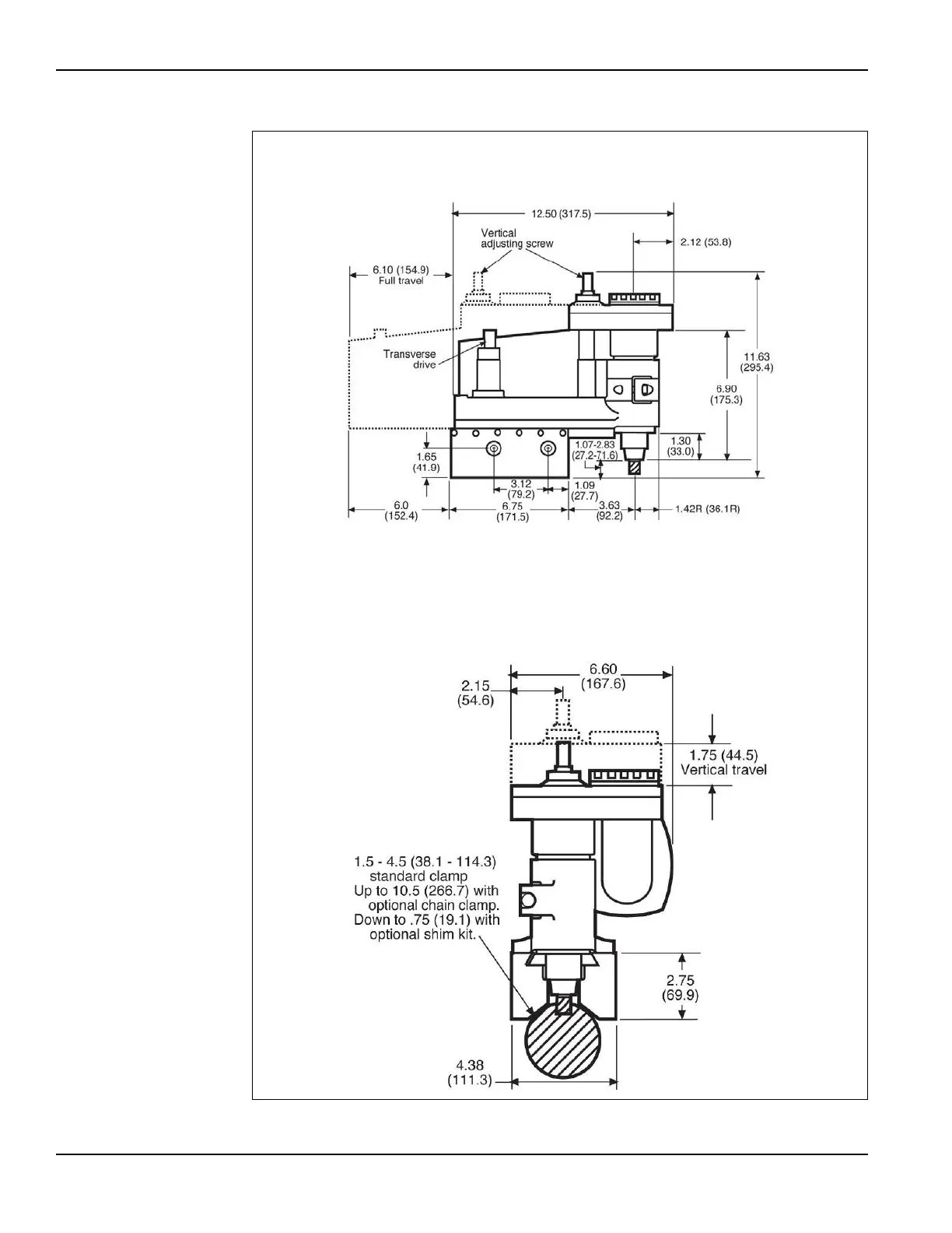
FIGURE 2-6. KM3000 DIMENSIONS
1
2
3
4
5

Table of Contents

Related product manuals