EasyManua.ls Logo

Epson LQ 1050 - B/W Dot-matrix Printer - Page 78

Epson LQ 1050 - B/W Dot-matrix Printer
225 pages
To Next Page IconTo Next Page
To Next Page IconTo Next Page
To Previous Page IconTo Previous Page
To Previous Page IconTo Previous Page
Loading...
REV.-A
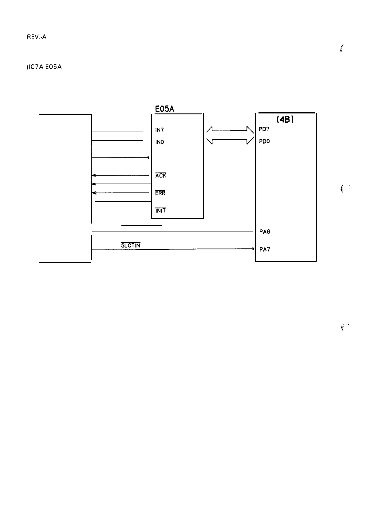
2.3.4.2 Interface Control Circuit
,y
Parallel data communication between the printer and host computer is controlled by the gate array
+
(IC7A:
E05A 16GA) on the PEGX board. Figure 2-28 shows the interface control circuit block diagram.
Figure 2-29 shows the parallel interface data transmission timing.
I
DATA BUS ‘
HOST
COMPUTER
1=
GA
E05A
16 GA)
(7A)
IN7
D7
I
I
INO
DO
STROBE
m
BUSY
m
PE
m
I
AUTO FEED XT
3
CPU
(78 10HG)
(4B)
PD7
I
PDO
PA6
PA7
Figure 2-28. Interface Control Circuit Block Diagram
,.
i,
,.
.
$“
2-34

Table of Contents

Other manuals for Epson LQ 1050 - B/W Dot-matrix Printer

Related product manuals