EasyManua.ls Logo

Hussmann Super Plus - Oil System; Oil Pressure Differential Valve

Hussmann Super Plus
147 pages
Print Icon
To Next Page IconTo Next Page
To Next Page IconTo Next Page
To Previous Page IconTo Previous Page
To Previous Page IconTo Previous Page
Loading...
OIL SYSTEM
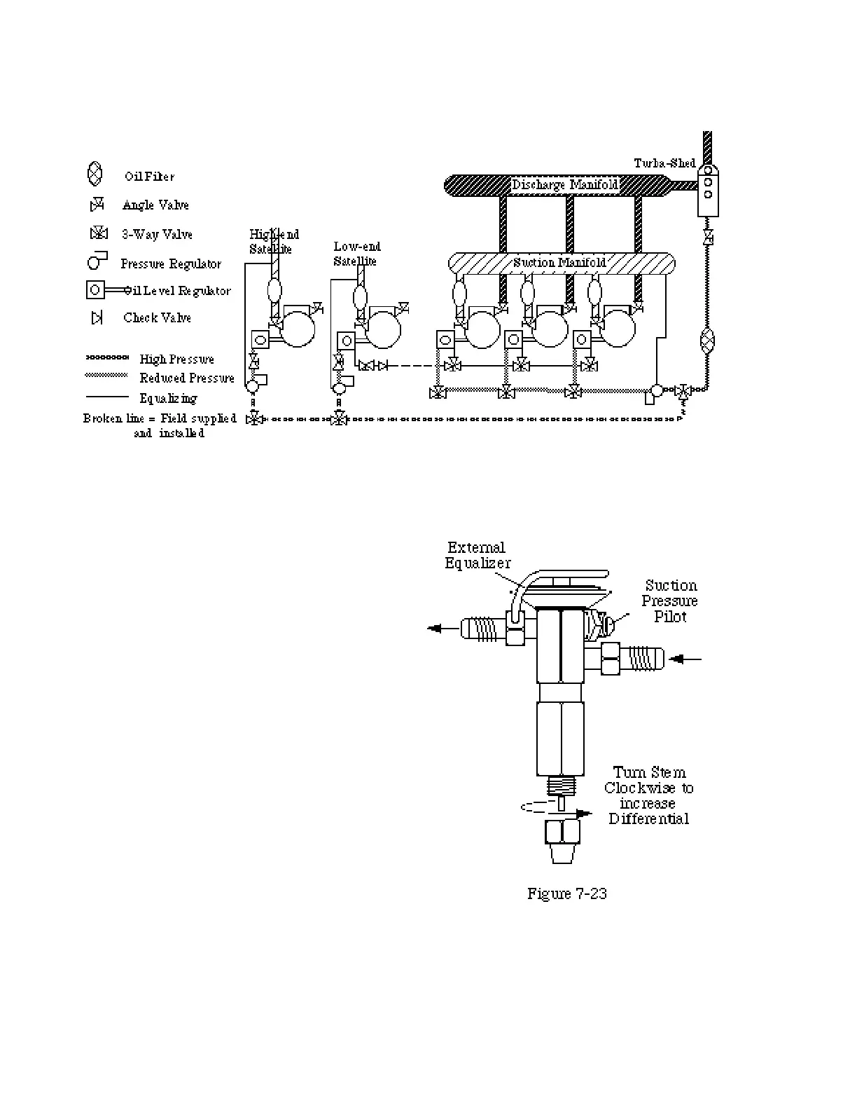
Differential Pressure Regulating Valve
The oil pressure differential valve reduces oil
pressure from high side pressure to a range of
3 to 20 psig above the suction pressure.
Typically, the valve would be set between 10
and 15 psig above the suction pressure to pre-
vent over feeding of the oil level regulator. A
separate Oil Pressure Differential Regulating
Valve must be applied for each different suc-
tion pressure on one oil system.
Turning the adjustment stem clockwise
1
4 turn
will increase the pressure to the oil level regu-
lators about 1 psig.
1
4 turn clockwise = 1 psig increase.
Oil Level Regulators
For any brand of oil level regulator to work
accurately the unit and each compressor must
be level. Both Sporlan and AC & R regulators
may be damaged by over adjusting. Do not
exceed 175 psig when testing to prevent dam-
age to the floats. A sight glass filled with oil
may indicate a damaged regulator.
HUSSMANN CORPORATION • BRIDGETON, MO 63044-2483 • Printed in USA
CONTROL VALVES Revised August 1, 1996
7 - 20

Table of Contents

Related product manuals