EasyManua.ls Logo

IGS BAOHUI HYPER CROSS - Page 105

IGS BAOHUI HYPER CROSS
118 pages
Print Icon
To Next Page IconTo Next Page
To Next Page IconTo Next Page
To Previous Page IconTo Previous Page
To Previous Page IconTo Previous Page
Loading...
102
Maintenance and Repair
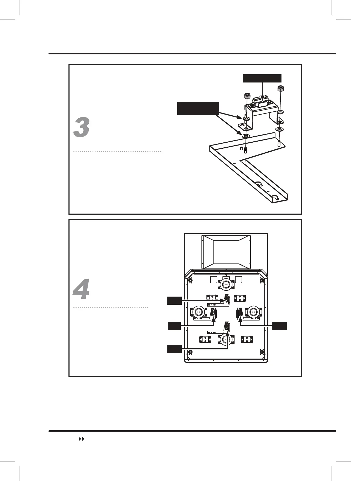
Replacing Parts
Remove the screws and
distance pieces according
to the diagram. When the
maintenance is completed,
install reversely.
Height sensor
Up and down
distance pieces
Schematic diagram
of the height sensor
position.
Front
Left Right
Back

Table of Contents

Related product manuals