EasyManua.ls Logo

IGS BAOHUI HYPER CROSS - Page 90

IGS BAOHUI HYPER CROSS
118 pages
Print Icon
To Next Page IconTo Next Page
To Next Page IconTo Next Page
To Previous Page IconTo Previous Page
To Previous Page IconTo Previous Page
Loading...
87
Maintenance and Repair
Replacing Parts
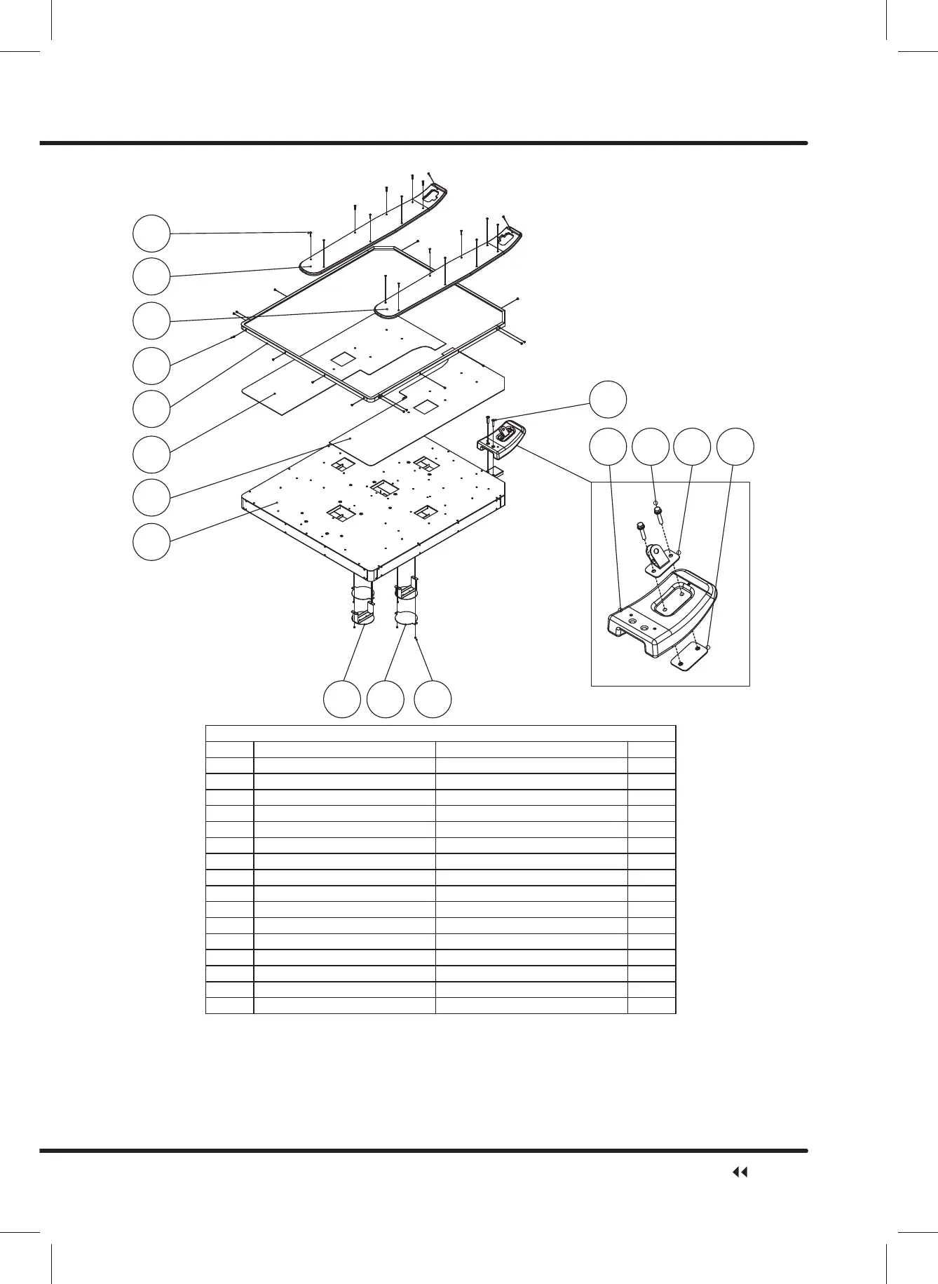
PARTS LIST
ITEM TITLE PART NUMBER QTY
5 1
6 1
7 1
8 motion platform 1
9 sensor detecting sheet - A
10 2
11 8
12 4
13 2
14 4
15 2
16 2
AMA-20-26000
SCR_HS-NC-M8X45L
1 18
2 1
3 1
4 19
2
ski-shape acrylic - L AMA-20-25000-L
Screw M4X25L SCR_THSHS-N-M4X25L
ski-shape acrylic - R AMA-20-25000-R
AMA-20-21000
sensor detecting sheet - B AMA-20-28000
SCR_HSFHS-M8X40L
ski decorative AMA-20-23100
SCR_THSHS-N-M4X8L
side cover AMA-20-22000
RUBBER-L RUBBER-L
RUBBER-RRUBBER-R
AMA-20-23200shock absorber bracket
shock absorber Fixed sheet AMA-20-23300
Screw M4X8L
Nut M4 NYLON_NUT-M4
Screw M8X40L
Screw M8X45L
5
4
7
6
2
1
8
10 11 9
13 14 15 16
12
3

Table of Contents

Related product manuals