EasyManua.ls Logo

IGS WAHLAP TECH OverTake - Light box assembly

IGS WAHLAP TECH OverTake
110 pages
Print Icon
To Next Page IconTo Next Page
To Next Page IconTo Next Page
To Previous Page IconTo Previous Page
To Previous Page IconTo Previous Page
Loading...
82
82
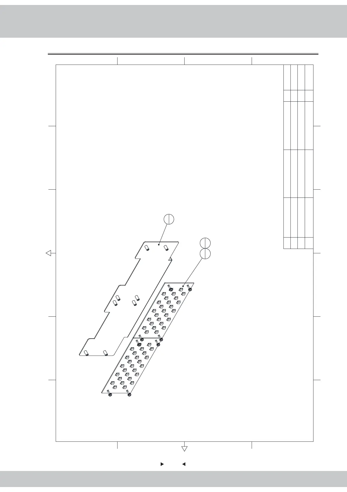
6.4.2 Lamp base-plate assembly
12
6
43
5
3
65
421
A
B
C
D
C
D
B
A
1
3
十字圆头三组合螺丝
M3*8(镀铬)
8
2
底座灯板
GK-514-012 2
1 HXK-0202A01
座位LED灯固定板
SPCC-1.2T 1
序号
图 号
名 称
材料/规格
数量
备注
1
1
2
2
3
8

Table of Contents

Related product manuals